This chapter provides information about configuring chassis slots, cards, and ports.
Topics in this chapter include:
This guide uses the term “preprovisioning” in the context of preparing or preconfiguring entities such as chassis slots, the IOM, adapter cards, ports, and interfaces, prior to hardware actually being installed in the chassis. These entities can be installed but not enabled. When the entity is in a no shutdown state (administratively enabled), the entity is considered to be provisioned.
Alcatel-Lucent 7705 SAR routers provide the capability to configure chassis slots to accept specific adapter card types and set the relevant configurations before the equipment is actually installed. The preprovisioning ability allows you to plan your configurations as well as monitor and manage your router hardware inventory. Ports and interfaces can also be preprovisioned. When the functionality is needed, the card(s) can be inserted into the appropriate chassis slots as required.
The following sections are discussed:
The 7705 SAR card slot ID is always 1 and the card type for the IOM is always iom-sar.
On the 7705 SAR-8 and 7705 SAR-18, the CSM, which can only be installed in slot A or B of the chassis, does not need to be provisioned. However, the IOM, which is virtualized in the 7705 SAR software, must be activated before the adapter cards, ports, and SCADA bridges can be preprovisioned and configured. The IOM is activated by designating it a card slot ID and card type. This enables the chassis slots to accept the adapter cards.
| Note:
There are two versions of the CSM available for the 7705 SAR-8: CSMv1 and CSMv2. In the CLI, the CSMv1 is shown as csm-1g and the CSMv2 is shown as csmv2-10g. Throughout this document both versions are referred to as CSM except when it is necessary to highlight differences between them. The CSMv1 supports a maximum bandwidth of 1 Gb/s per adapter card slot. The CSMv2 supports 10/2.5/1 Gb/s in the first two adapter card slots and 2.5/1 Gb/s in the remaining four adapter card slots. Support for 2.5 Gb/s and 10 Gb/s adapter cards on the 7705 SAR-8 v2 chassis requires use of the CSMv2. |
The 7705 SAR-F, 7705 SAR-M (all variants), 7705 SAR-H, 7705 SAR-Hc, 7705 SAR-A (all variants), 7705 SAR-W, and 7705 SAR-Wx (all variants), have a fixed physical configuration and each router uses only one control and switching functional block, which is referred to on the CLI as CSM A. The CSM and IOM do not need to be provisioned in order to provision the interface at the adapter card level.
The slot ID (1) is used as part of the adapter card and port identifier on the CLI.
| Note:
Unless otherwise specified, references to adapter cards with multiple versions include all versions of the cards. |
A chassis slot and card type must be specified and provisioned before an adapter card can be provisioned. A chassis slot is a physical slot designated with an MDA ID. On the 7705 SAR-8, the MDA ID is from 1 to 6. On the 7705 SAR-18, the MDA ID is from 1 to 12 for the MDA slots and from X1 to X4 for the XMDA slots. An adapter card is provisioned when a card designated from the allowed adapter card types is inserted. A preprovisioned adapter card slot can remain empty without conflicting with populated slots.
A maximum of six adapter cards can be installed in the 7705 SAR-8 chassis. The following adapter cards are supported:
A maximum of 12 MDA adapter cards and 4 XMDA adapter cards can be installed in the 7705 SAR-18 chassis. The following adapter cards are supported:
Note:
|
The adapter cards can be installed in the chassis in any combination that does not exceed the maximum number. However, network applications require at least one network-capable adapter card to be installed as part of the mix.
| Note:
Because the 6-port E&M Adapter card, 12-port Serial Data Interface card, 8-port Voice & Teleprotection card, 8-port FXO Adapter card, and 6-port FXS Adapter card support access mode only, and the Integrated Services card is a resource card that supports an access functionality only, for network applications, the maximum number of each of these adapter cards that can be installed in a 7705 SAR-8 chassis is 5, and the maximum number that can be installed in a 7705 SAR-18 chassis is 11. |
Once installed and enabled, the system verifies that the installed adapter card type matches the configured parameters. If the parameters do not match, the adapter card remains offline.
On the CLI, the adapter cards are referred to as MDAs. The adapter card is identified using the format slot/mda, where slot identifies the IOM card slot ID (always 1) and mda identifies the physical slot in the chassis for the adapter card; for example, 1/5.
The 7705 SAR-F has a fixed physical configuration that includes T1/E1 and Ethernet ports. On the CLI, the slot/mda identifier for T1/E1 ports is 1/1 and for Ethernet ports is 1/2. There is no provisioning required at the adapter card level in order to provision the T1/E1 and Ethernet ports on this chassis.
The 7705 SAR-M has a fixed physical configuration that includes T1/E1 ports for those variants of the chassis that have T1/E1 ports. All variants of the 7705 SAR-M have an Ethernet adapter card design that supports seven Gigabit Ethernet ports consisting of four 10/100/1000 Base-Tx interfaces with SFPs and three 10/100/1000 Base-T copper interfaces. On the CLI, the slot/mda identifier for T1/E1 ports is 1/2 and for Ethernet ports is 1/1. There is no provisioning required at the adapter card level in order to provision the ports on these chassis. For those variants of the chassis that have a module slot, the slot/mda identifier for the module on the CLI as 1/3. 7705 SAR-M variants with module slots support the following modules:
The 7705 SAR-H has a fixed physical configuration that integrates an Ethernet adapter card design. The chassis supports eight Gigabit Ethernet ports consisting of:
On the CLI, the slot/mda identifier for Ethernet ports is 1/1. There is no provisioning required at the adapter card level in order to provision the ports on the chassis. The chassis has two slots for modules. On the CLI, the slot/mda identifier for a module installed in the first slot position is 1/2 and for a module installed in the second slot position is 1/3.
The 7705 SAR-H supports the 4-port T1/E1 and RS-232 Combination module and GPS Receiver module.
The 7705 SAR-Hc has a fixed physical configuration that includes six Gigabit Ethernet ports and two RS-232 ports. The Gigabit Ethernet ports consist of:
On the CLI, the slot/mda identifier for Ethernet ports on the 7705 SAR-Hc is 1/1 and for RS-232 ports is 1/2.
The 7705 SAR-A has two variants with fixed physical configurations. One variant supports both Ethernet and T1/E1 ports. The other variant supports only Ethernet ports. Both variants of the 7705 SAR-A have 12 Ethernet ports consisting of 4 Gigabit Ethernet ports for RJ-45 or SFPs (10/100/1000 Base-Tx interfaces), 4 Gigabit Ethernet ports for SFPs only (10/100/1000 Base-Tx interfaces), and 4 Fast Ethernet ports. On the CLI, the slot/mda identifier for T1/E1 ports is 1/2 and for Ethernet ports is 1/1. There is no provisioning required at the adapter card level in order to provision the ports on these chassis.
The 7705 SAR-W has one variant with a fixed physical configuration. The variant supports five Gigabit Ethernet ports consisting of three Gigabit Ethernet ports (10/100/1000 Base-Tx interfaces) for SFPs and two RJ-45 Gigabit Ethernet ports with optional PoE+ support. On the CLI, the slot/mda identifier for the Ethernet ports is 1/1. There is no provisioning required at the adapter card level in order to provision the ports on this chassis. The 7705 SAR-W supports up to two GPON interfaces via the three Ethernet SFP ports. The 7705 SAR-W also has an internal (virtual) port used for in-band Ethernet management connection. The virtual port is identified as vrtl-mgmt on the CLI and as 1/1/6 via SNMP.
The 7705 SAR-Wx has three variants with fixed physical configurations. The first variant supports five Gigabit Ethernet ports consisting of three Gigabit Ethernet ports (10/100/1000 Base-Tx interfaces) for SFPs and two RJ-45 Gigabit Ethernet ports. The second variant supports five Gigabit Ethernet ports consisting of three Gigabit Ethernet ports (10/100/1000 Base-Tx interfaces) for SFPs, one RJ-45 Gigabit Ethernet port, and one RJ-45 Gigabit Ethernet port with PoE+. The third variant supports four Gigabit Ethernet ports consisting of three Gigabit Ethernet ports (10/100/1000 Base-Tx interfaces) for SFPs and one RJ-45 Gigabit Ethernet port, and one RJ-45 4-pair xDSL port. On the CLI, the slot/mda identifier for the Ethernet ports is 1/1 and 1/2 for the xDSL port. There is no provisioning required at the adapter card level in order to provision the ports on these chassis.
The following sample outputs display the administrative and operational states of adapter cards for all platforms.
For the 7705 SAR-8 with a CSMv1:
For the 7705 SAR-8 with a CSMv2:
For the 7705 SAR-18:
For the 7705 SAR-F:
For the 7705 SAR-M:
For the 7705 SAR-H:
For the 7705 SAR-Hc:
For the 7705 SAR-A:
For the 7705 SAR-W:
For a 7705 SAR-Wx Ethernet variant:
For a 7705 SAR-Wx Ethernet with xDSL variant:
The following cards and modules support channelization down to the DS0 level:
On the 16-port T1/E1 ASAP Adapter card, 32-port T1/E1 ASAP Adapter card, 2-port OC3/STM1 Channelized Adapter card, and 4-port DS3/E3 Adapter card (DS3 ports only), and on the T1/E1 ports of the 4-port T1/E1 and RS-232 Combination module, up to 24 channel groups are supported on a DS1 circuit and up to 32 channel groups on an E1 circuit.
The 12-port Serial Data Interface card supports a single channel group on a channelized V.35 circuit, RS-232 (also known as EIA/TIA-232) circuit, or X.21 circuit. The RS-232 ports on the 4-port T1/E1 and RS-232 Combination module also support a single channel group on a channelized RS-232 circuit.
The 6-port E&M Adapter card supports a single channel group on a channelized E&M voice interface.
The 8-port Voice & Teleprotection card supports a single channel group on a channelized G.703 (codirectional) circuit, an IEEE C37.94 teleprotection interface (TPIF) circuit, FXS circuit, or FXO circuit.
The 8-port FXO Adapter card supports a single channel group on an FXO circuit.
The 6-port FXS Adapter card supports a single channel group on an FXS circuit.
The 4-port OC3/STM1 Channelized Adapter card supports channelization at the DS1/E1 level only.
The 16-port T1/E1 ASAP Adapter card, 32-port T1/E1 ASAP Adapter card, and the T1/E1 ports on the 4-port T1/E1 and RS-232 Combination module each support fractional T1/E1 on a PPP channel group in network mode. Fractional T1/E1 allows one or more DS0 channels to be bundled together (up to the maximum bandwidth of the network link), allowing the customer to use only that portion of the link that is needed. This means that the PPP service can use a selected number of timeslots (octets) in the network T1 or E1 link, thus reducing the amount of T1 or E1 bandwidth that must be leased or purchased from the attached carrier. This leads to multiplexing efficiencies in the transport network.
Only one channel group can be configured per port. When the channel group is configured for ppp-auto encapsulation and network mode, all timeslots (channels) are automatically allocated to the channel group. The user can then configure the number of timeslots needed. Timeslots not selected cannot be used.
A port can be configured after the IOM is activated (the card slot and card type are designated) and the adapter card slot is preprovisioned with an allowed adapter card type.
The 7705 SAR supports the port types listed below:
In addition, this section contains information on the following topics:
Ethernet ports are supported on the following cards and modules:
The 8-port Ethernet Adapter card (the 7705 SAR-18 only supports version 2) has six RJ-45 ports for 10/100BASE-T (Ethernet and Fast Ethernet) connections. The card also has two SFP ports for fiber or copper SFPs. Fast Ethernet and Gigabit (100 Mb/s and 1000 Mb/s) fiber connections and 10/100/1000BASE-T copper connections are supported. This variety of connections enables the 8-port Ethernet Adapter card to be connected to different devices at the customer site, including wireless base stations, DSL modems, microwave boxes, and other auxiliary equipment. As well, with fiber connections, the adapter card can be directly connected to the Metro Ethernet Provider (MEP) central office. Version 2 of the 8-port Ethernet Adapter card also supports synchronous Ethernet timing.
The 8-port Gigabit Ethernet Adapter card has eight SFP ports for fiber or copper SFPs. The card supports dual rate (100 Mb/s and 1000 Mb/s) and Gigabit (1000 Mb/s) fiber connections and 10/100/1000Base-T copper connections. The card also supports synchronous Ethernet timing. The 8-port Gigabit Ethernet Adapter card is designed to complement or replace the 8-port Ethernet Adapter card in situations where greater processing power and higher throughput capacity are required.
There are three versions of the 8-port Gigabit Ethernet Adapter card. Version 1 and version 2 are identical except that version 2 provides larger table space for FIBs, ACLs, and so on. Version 2 also supports the full IPv6 subnet range for IPv6 static routes and interface IP addresses. The static route range is from /1 to /128, and the default route is ::/0. Supported interface IP address prefixes are from /4 to /127, and /128 on system or loopback interfaces. Version 3 is identical to version 2 except that it is equipped with a hardware-based encryption engine to support features such as IPSec.
Higher limits and full subnet ranges are supported only when all the adapter cards in a particular node are equipped with hardware for larger table support.
Gigabit Ethernet optical ports offer significant advantages over fast Ethernet ports, even where lower-speed services are currently offered. With Gigabit Ethernet, service providers have the opportunity to standardize access infrastructure, ensure that capacity is available to accommodate growing bandwidth requirements, and minimize the operational costs associated with future service upgrades to hardware and software.
There are two versions of the 10-port 1GigE/1-port 10GigE X-Adapter card. Both versions are identical except that version 2 is equipped with a hardware-based encryption engine to support features such as IPSec.
When the 10-port 1GigE/1-port 10GigE X-Adapter card (supported only on the 7705 SAR-18) is configured in 10-port GigE mode, 10 SFP ports are available for fiber SFPs. In this mode, the card supports dual-rate (100 Mb/s and 1000 Mb/s) and Gigabit (1000 Mb/s) fiber connections. The card also supports synchronous Ethernet timing.
When the 10-port 1GigE/1-port 10GigE X-Adapter card is configured in 1-port GigE mode, only one SFP+ (port 1) of the 10 ports is active and available for use with fiber SFP+ modules. The card supports 10-Gb/s fiber connections. The card also supports synchronous Ethernet timing. The 1-port GigE mode is designed for use in situations where greater processing power and higher throughput capacity are required.
The 10-port 1GigE/1-port 10GigE X-Adapter card also provides larger table space for FIBs, ACLs, and so on. The card also supports the full IPv6 subnet range for IPv6 static routes and interface IP addresses. The static route range is from /1 to /128, and the default route is ::/0. Supported interface IP address prefixes are from /4 to /127, and /128 on system or loopback interfaces.
Higher limits and full subnet ranges are supported only when all the adapter cards in a particular node are equipped with hardware for larger table support.
The 2-port 10GigE (Ethernet) Adapter card/module is used to connect to and from access rings carrying a high concentration of traffic. Table 2 lists the maximum number of cards or modules that are supported on each platform. A single card can be installed in the 7705 SAR-8 and the 7705 SAR-18; however, it is strongly recommended that a minimum of two cards be installed for redundancy.
Chassis | Maximum Number of Cards or Modules |
7705 SAR-8 with CSMv1 | Up to two cards |
7705 SAR-8 with CSMv2 | Up to four cards |
7705 SAR-18 | Up to six cards |
7705 SAR-M | One module |
The 2-port 10GigE (Ethernet) Adapter card/module has two small form-factor pluggable (XFP) ports on its faceplate. The two XFP ports are for 10-Gigabit Ethernet XFPs. The card provides high processing power and throughput capacity and operates at 10 Gb/s for Ethernet ports and 2.5 Gb/s for the virtual port (v-port).
The 2-port 10GigE (Ethernet) Adapter card provides larger table space for FIBs, ACLs, and so on. The card also supports the full IPv6 subnet range for IPv6 static routes and interface IP addresses on the v-port. The supported range for statically provisioned or dynamically learned routes is from /1 to /128. Supported interface IP address prefixes are from /4 to /127, and /128 on system or loopback interfaces.
The 2-port 10GigE (Ethernet) module supports IPv6 on the v-port. The supported range for statically provisioned or dynamically learned routes is from /1 to /64 or is /128 (indicating a host route). Supported interface IP address prefixes are from /4 to /64, and /128 on system or loopback interfaces.
The Packet Microwave Adapter card has two RJ-45 ports (ports 1 and 2) and six SFP ports (ports 3 through 8). All ports provide 10/100/1000 Mb/s connections (when connected to an MPR-e radio, they are always in Gigabit Ethernet (1-Gb/s) mode). Ports 1 through 4 support Microwave Awareness (MWA) and Ethernet/IP/MPLS networking; ports 5 through 8 support Ethernet/IP/MPLS networking only. All Gigabit Ethernet ports provide the same networking feature capability as the 8-port Gigabit Ethernet Adapter card. For frequency synchronization, synchronous Ethernet and SSM are the mechanisms that are applied when using optical 1000Base-SX to connect to an MPR-e radio. When using electrical 1000Base-T to connect the Packet Microwave Adapter card and an MPR-e radio, Proprietary Clock Recovery (PCR) is used (a copper SFP is mandatory on ports 3 and 4).
TDM ports are supported on the following cards and modules:
There are two versions of the 16-port T1/E1 ASAP Adapter card. The 7705 SAR-18 only supports version 2.
Channelization is supported down to the DS0 level. To change port types, all ports must first be shut down. The ports can be configured for DS1 (T1) or E1 operation. All ports on the card must be either T1 or E1; there cannot be a mix of the two types. When the first port is configured on a card, all other ports on the card must be set to the same type.
The 16-port T1/E1 ASAP Adapter card supports fractional T1/E1 on network ports configured for PPP. Fractional T1/E1 allows a portion of the link to be used for traffic (up to the full link bandwidth).
On the 32-port T1/E1 ASAP Adapter card, channelization is supported down to the DS0 level. To change port types, all ports must first be shut down. The ports can be configured for DS1 (T1) or E1 operation. All ports on the card must be either T1 or E1; there cannot be a mix of the two types. When the first port is configured on a card, all other ports on the card must be set to the same type.
The 32-port T1/E1 ASAP Adapter card supports fractional T1/E1 on network ports configured for PPP. Fractional T1/E1 allows a portion of the link to be used for traffic (up to the full link bandwidth).
On the 2-port OC3/STM1 Channelized Adapter card, channelization is supported down to the DS0 level. To change port types, all ports must first be shut down. The ports can be configured for DS1 (T1) or E1 channelization. All ports on the card must be either SONET or SDH; there cannot be a mix of the two types. When the first port is configured on a card, all other ports on the card must be set to the same type.
The 2-port OC3/STM1 Channelized Adapter card also supports DS3 channelization.
On the 4-port OC3/STM1 Channelized Adapter card, channelization is supported down to the DS1 level. To change port types, all ports must first be shut down. The ports can be configured for DS1 (T1) or E1 channelization in access mode, or MLPPP in network mode. All ports on the card must be either SONET or SDH; there cannot be a mix of the two types. When the first port is configured on a card, all other ports on the card must be set to the same type. Switching between port types causes the adapter card to reset.
T1/E1 ports on the 4-port T1/E1 and RS-232 Combination module support channelization down to the DS0 level. To change port types, all ports must first be shut down. The ports can be configured for DS1 (T1) or E1 operation. All ports on the module must be either T1 or E1; there cannot be a mix of the two types. When the first port is configured on a module, all other ports on the card must be set to the same type.
The 4-port DS3/E3 Adapter card has four TDM DS3/E3 ports. The port type must be configured to be either DS3 or E3. Each DS3 port can be clear channel or channelized down to DS0 (64 kb/s). E3 ports can be clear channel only. Once the first port type has been configured, all other ports on the same 4-port DS3/E3 Adapter card must be set to the same type.
To change between types, the ports must first be deleted. DS3 ports provide B3ZS (bipolar with three-zero substitution) zero code suppression and E3 ports provide HDB3 (high density bipolar of order 3) zero code suppression. B3ZS and HDB3 zero code suppression are line coding techniques used to maintain proper clock rate synchronization.
Channelization is supported down to the DS0 level (for DS3 ports only). To change port types, all ports must first be shut down. The ports can be configured for DS1 (T1) or E1 operation. All ports on the card must be either T1 or E1; there cannot be a mix of the two types. When the first port is configured on a card, all other ports on the card must be set to the same type.
On the 8-port Voice & Teleprotection card, channelization is supported down to the DS0 level. To change port types, all ports must first be shut down. The ports can be configured for DS1 (T1) or E1 operation. All ports on the card must be either T1 or E1; there cannot be a mix of the two types. When the first port is configured on a card, all other ports on the card must be set to the same type.
Channelization is supported on the two codirectional G.703 ports and two IEEE C37.94 teleprotection interface ports.
The 12-port Serial Data Interface card has four connectors, which support three serial data ports each. Each port grouping may be configured for V.35, RS-232, or X.21 operation. When a port has been configured for a specific interface type, the other two ports in that same grouping can only be configured for the same type.
Channelization on the 12-port Serial Data Interface card is supported down to the DS0 level.
The 16-port T1/E1 ASAP Adapter card, 32-port T1/E1 ASAP Adapter card, 2-port OC3/STM1 Channelized Adapter card, 4-port OC3/STM1 Channelized Adapter card, and T1/E1 ports on the 4-port T1/E1 and RS-232 Combination module support multilink bundles. A multilink bundle is a collection of channels on channelized ports that physically reside on the same adapter card.
All member links of an MLPPP group must reside on the same T1/E1 ASAP card, or the same port on a 2-port OC3/STM1 Channelized Adapter card, 4-port OC3/STM1 Channelized Adapter card, or 4-port T1/E1 and RS-232 Combination module, and they must be of the same type (either E1 or DS1). Multilink bundles are used by providers who offer either bandwidth-on-demand services or fractional bandwidth (DS3) services. Multilink bundles are supported over PPP channels (MLPPP).
The 16-port T1/E1 ASAP Adapter card, 32-port T1/E1 ASAP Adapter card, and the 2-port OC3/STM1 Channelized Adapter card support Inverse Multiplexing over ATM (IMA). IMA is a standard developed to address the increasing need for bandwidth greater than the DS1 or E1 link speeds (1.544 or 2.048 Mb/s, respectively) but less than higher link speeds such as DS3 (44.736 Mb/s). IMA combines the transport bandwidth of multiple DS1 or E1 channels in a logical link (called an IMA group) to provide scalable bandwidth.
The 4-port OC3/STM1 Clear Channel Adapter card has four hot-pluggable SFP-based ports that can be independently configured to be SONET (OC3) or SDH (STM1). The 2-port OC3/STM1 Channelized Adapter card has two hot-pluggable SFP-based ports that can be configured to be SONET (OC3) or SDH (STM1). The 4-port OC3/STM1 Channelized Adapter card has four hot-pluggable SFP-based ports that can be configured to be SONET (OC3) or SDH (STM1).
All ports must be of the same type (either SONET or SDH).
Voice ports are supported on the following cards:
The 6-port E&M Adapter card has six RJ-45 ports that support the transport of an analog voiceband signal between two analog devices over a digital network. The analog signals are converted into a 64 kb/s digital Pulse Code Modulation (PCM) format using either Mu-Law (North America) or A-Law (Rest of World) companding. The type of companding is selectable on a per-card basis. Companding conversion (that is, Mu-Law to A-Law or vice versa) is not supported.
The signaling type is selectable on a per-card basis depending on companding type. When A-Law companding is configured, the signaling type is automatically type V. When Mu-Law companding is configured, all signaling types can be selected; however, the only supported configurations are both ends of the connection operating in the same mode (for example, Type I to Type I) or one end operating in Type I mode and the other in Type V mode. The default signaling type for Mu-Law is Type I.
Each voice port can be configured to operate in either a two-wire or four-wire (default) mode. The ports (in groups of three – ports 1 to 3 and ports 4 to 6) can also be configured to operate in transmission-only mode, which provides a four-wire audio path with no signaling. A transmit and receive transmission level point (the analog-to-digital decibel level) can be configured for each port. See Table 3 for the signaling type, companding law and audio wires configuration options on the 6-port E&M Adapter card.
Signaling Type | Companding Type | Number of Wires |
Type I, Type II, Type V | Mu-Law | Two-wire or four-wire |
Type V | A-Law | Two-wire or four-wire |
Transmission-only (no signaling) | Mu-Law or A-Law | Four-wire |
The 8-port Voice & Teleprotection card supports the transport of an analog voiceband signal between two analog devices over a digital network
The card has two FXS RJ-45 ports and two FXO RJ-45 ports that support analog voiceband signals. The analog signals are converted into a 64 kb/s digital Pulse Code Modulation (PCM) format using either Mu-Law (North America) or A-Law (Rest of World) companding. The type of companding is selectable on a per-card basis. Companding conversion (that is, Mu-Law to A-Law or vice versa) is not supported.
The signaling type is selectable at the port level on a per-port basis depending on companding type.
FXO supports:
FXS supports:
The default signaling type for FXO and FXS is 3600ls for Mu-Law companding and 3600re for A-Law companding.
The 8-port FXO Adapter card supports the transport of an analog voiceband signal between two analog devices over a digital network
The card supports analog voiceband signals through four RJ-45 connectors that provide eight Foreign Exchange Office (FXO) ports, with two ports supported per connector. The analog signals are converted into a 64 kb/s digital Pulse Code Modulation (PCM) format using either Mu-Law (North America) or A-Law (Rest of World) companding. The type of companding is selectable on a per-card basis. Companding conversion (that is, Mu-Law to A-Law or vice versa) is not supported.
The signaling type is selectable at the port level on a per-port basis depending on companding type.
FXO supports:
The default signaling type is 3600ls for Mu-Law companding and 3600re for A-Law companding.
The 6-port FXS Adapter card provides the capability of transporting a large number of voice circuits from one 7705 SAR location and terminating them at another 7705 SAR location that is connected to a PBX.
The card can also be configured for a Private Line Automatic Ringdown (PLAR) application, which is typically used outside of a PBX network, in order to provide a site-to-site or remote site-to-control center hotline functionality.
The card has six Foreign Exchange Subscriber (FXS) ports. Each port provides a short-reach, on-premises analog interface to an analog telephone set. After an incoming analog signal from a set is terminated on one of the FXS interfaces, it is converted into a digital 64 kb/s Pulse Code Modulation (PCM) format using either Mu-Law companding (North America) or A-Law companding (Rest of World).
The signal is then mapped into the E1 Channel Associated Signaling (CAS) transport scheme for A-Law or the T1 Robbed Bit Signaling (RBS) transport scheme for Mu-Law and transmitted using a Cpipe over any 7705 SAR network interface that supports the Cpipe service. For standard TDM, the network interface can be a T1/E1 or OC3/STM1 channelized interface. For MPLS, an Ethernet, T1/E1, OC3/STM1 channelized MLPPP, or OC3/STM1 clear channel interface can be used.
For a PBX application, the signal is terminated on an FXO interface at a 7705 SAR hub location that is connected to a PBX. The FXO interface can be provided by either an 8-port FXO Adapter card or 8-port Voice & Teleprotection card that is installed in a 7705 SAR-8 or 7705 SAR-18 chassis at the 7705 SAR hub location.
For a PLAR application, the signal is terminated on an FXS interface on either another 6-port FXS Adapter card or an 8-port Voice & Teleprotection card that is installed in a 7705 SAR-8 or 7705 SAR-18 chassis that is located at a remote location, or terminated on a 3600 MainStreet or 1511 MAX. The connection is made over an E1 interface (3600 MainStreet or 1511 MAX) or a T1 interface (3600 MainStreet). Conversely, a hotline call can originate from a 3600 MainStreet or 1511 MAX and terminate on an FXS interface on a 6-port FXS Adapter card (or on an FXS interface on an 8-port Voice & Teleprotection card).
Table 4 shows the configuration options available on a 6-port FXS Adapter card. The companding law type is configured at the card level; the other options are configured at the voice port level.
Configuration | Supported Options |
Companding type | Mu-Law (the default) A-Law |
Fault signaling | Idle (the default) Seized |
Line balance | Nominal (the default) 800 |
Ring generation | 16 Hz (the default) 20 Hz 25 Hz |
Signaling type | 3600 Private Line Automatic Ringdown (PLAR) (if Mu-Law or A-Law is used) 1511 PLAR (if A-Law is used) 1511 Profile1 (if A-Law is used) 3600 Loop Start (LS) (if Mu-Law is used; this is the default) 3600 Remote Extension (RE) (if A-Law is used; this is the default) |
Transmission level point (TLP) | Rx: –7 dB to 0 dB (1-dB increments; the default is –3 dB) Tx: –4 dB to +3 dB (1-dB increments; the default is 0 dB) |
A microwave link can be configured as a virtual port object on a 7705 SAR-8 or 7705 SAR-18 in order to provide a basic microwave connection or the Microwave Awareness (MWA) capability to an MPR-e node
For more information, see Microwave Link.
On the CLI, a port is identified using the format slot/mda/port, where slot identifies the IOM card slot ID (always 1), mda identifies the physical slot in the chassis for the adapter card, and port identifies the physical port on the adapter card; for example, 1/5/1.
On the CLI for the 7705 SAR-F, T1/E1 ports are identified as 1/1/1 through 1/1/16 and Ethernet ports are identified as 1/2/1 through 1/2/8.
On the CLI for the 7705 SAR-M, T1/E1 ports are identified as 1/2/1 through 1/2/16 for those variants of the chassis with T1/E1 ports. Ethernet ports for all variants of the 7705 SAR-M are identified as 1/1/1 through 1/1/7. Those variants of the chassis that have module slots identify modules as 1/3/port-num.
On the CLI for the 7705 SAR-H, Ethernet ports are identified as 1/1/1 through 1/1/8. Module ports on the 77705 SAR-H are identified as 1/2/port-num for modules installed in the first slot position and 1/3/port-num for modules installed in the second slot position.
On the CLI for the 7705 SAR-Hc, Ethernet ports are identified as 1/1/1 through 1/1/6 and RS-232 ports are identified as 1/2/1 through 1/2/2.
On the CLI for the 7705 SAR-A, T1/E1 ports are identified as 1/2/1 through 1/2/8 for the variant of the chassis with T1/E1 ports. Ethernet ports for all variants of the 7705 SAR-A are identified as 1/1/1 through 1/1/12.
On the CLI for the 7705 SAR-W, Ethernet ports are identified as 1/1/1 through 1/1/5. The 7705 SAR-W also has an internal (virtual) port used for in-band Ethernet management connection. The virtual port is identified as vrtl-mgmt on the CLI and as 1/1/6 via SNMP.
On the CLI for the 7705 SAR-Wx, Ethernet ports for the Ethernet-only variant and the Ethernet and PoE+ variant are identified as 1/1/1 through 1/1/5. For the variant supporting Ethernet ports and an xDSL port, the Ethernet ports are identified as 1/1/1 through 1/1/4 and the DSL port is identified as 1/2/1 through 1/2/4.
For the 16-port T1/E1 ASAP Adapter card, 32-port T1/E1 ASAP Adapter card, and 4-port DS3/E3 Adapter card, the channel-group-id identifies the DS1 or E1 channel group; for example, 1/5/1.20. For the 2-port OC3/STM1 Channelized Adapter card, the channel-group-id identifies the DS1, E1, or DS3 channel group. For the 4-port OC3/STM1 Channelized Adapter card, the channel-group-id identifies the DS1 or E1 channel group. For the 12-port Serial Data Interface card, the channel-group-id identifies the V.35, RS-232, or X.21 channel group; only one channel group per port is supported on the card, so the format would be 1/1/1.1.
For the 6-port E&M Adapter card, the channel-group-id identifies the E&M voice channel group; only one channel group per port is supported on the card, so the format would be 1/1/1.1. For the 8-port Voice & Teleprotection card, the 8-port FXO Adapter card, and the 6-port FXS Adapter card, the channel-group-id identifies the DS0 channel group; only one channel group per port is supported on the card, so the format would be 1/1/1.1.
For the 4-port T1/E1 and RS-232 Combination module, the channel-group-id identifies the DS1 or E1 channel group for the T1/E1 ports (for example, 1/2/3.5) or the channel group for the RS-232 ports (for example, 1/2/2.1).
On the CLI for the 2-port 10GigE (Ethernet) Adapter card or 2-port 10GigE (Ethernet) module, for virtual-port configuration, an Ethernet port is identified as v-port.
All ports must be set to access (customer-facing), network, or hybrid mode. When the mode is configured on a port, the appropriate encapsulation type must be configured to distinguish the services on the port or channel (for access mode), or to define the transport mode (for network mode).
For the16-port T1/E1 ASAP Adapter card, version 2, 32-port T1/E1 ASAP Adapter card, and 4-port DS3/E3 Adapter card, the card must be enabled to support a set of software services before the encapsulation type is configured. This support is enabled using the mda-mode command (see the mda-mode command in the Card, Adapter Card, and Port Command Reference section):
| Note:
The 8-port Gigabit Ethernet Adapter card supports qinq only on version 1. The 10-port 1GigE/1-port 10GigE X-Adapter card supports qinq only on version 2 when it is in 10-port 1GigE mode. The Packet Microwave Adapter card supports qinq only when the card is not in mw-link mode. |
The default modes are listed in Table 5. All channel groups on a port must either be all access or all network channel groups; there cannot be a mix. When the first channel group is configured, all other channel groups on that port must be set to the same mode. To change modes, all channel groups must first be shut down.
Default Mode | Adapter Card or Module |
Network | 2-port 10GigE (Ethernet) Adapter card 2-port 10GigE (Ethernet) module 10-port 1GigE/1-port 10GigE X-Adapter card DSL or GPON ports on the 7705 SAR-M DSL ports on the 7705 SAR-Wx |
Access | 16-port T1/E1 ASAP Adapter card 32-port T1/E1 ASAP Adapter card 8-port Ethernet Adapter card 8-port Gigabit Ethernet Adapter card Packet Microwave Adapter card 4-port DS3/E3 Adapter card 2-port OC3/STM1 Channelized Adapter card 4-port OC3/STM1 Channelized Adapter card 12-port Serial Data Interface card 8-port Voice & Teleprotection card 8-port FXO Adapter card 6-port E&M Adapter card 6-port FXS Adapter card |
Access, but change to network for POS | 4-port OC3/STM1 Clear Channel Adapter card; the card must be set to network mode for Packet over SONET (POS) |
Access or access only | 4-port T1/E1 and RS-232 Combination module is access for the T1/E1 ports; the RS-232 ports operate in access mode only |
The 7705 SAR supports egress-rate limiting and ingress-rate limiting on Ethernet ports.
The egress rate is set at the port level in the config>port>ethernet context.
Egress-rate limiting sets a limit on the amount of traffic that can leave the port to control the total bandwidth on the interface. If the egress-rate limit is reached, the port applies backpressure on the queues, which stops the flow of traffic until the queue buffers are emptied. This feature is useful in scenarios where there is a fixed amount of bandwidth; for example, a mobile operator who has leased a fixed amount of bandwidth from the service provider.
The ingress-rate command configures a policing action to rate-limit the ingress traffic. Ingress-rate enforcement uses dedicated hardware for rate limiting; however, software configuration is required at the port level (ingress-rate limiter) to ensure that the network processor or the adapter card or port never receives more traffic than they are optimized for.
The configured ingress rate ensures that the network processor does not receive traffic greater than this configured value on a per-port basis. Once the ingress-rate value is reached, all subsequent frames are dropped. The ingress-rate limiter drops excess traffic without determining whether the traffic has a higher or lower priority.
Access ports on the following can be configured for PPP/MLPPP channel groups:
Customer IP traffic can be transported directly over PPP or MLPPP links. The access ports can also be configured for TDM to transport 2G traffic from BTSs or ATM/IMA to transport 3G UMTS traffic from Node Bs.
In access mode, PPP channels on the 2-port OC3/STM1 Channelized Adapter card, 16-port T1/E1 ASAP Adapter card, 32-port T1/E1 ASAP Adapter card, and 4-port T1/E1 and RS-232 Combination module can be associated with n × DS0 channel groups. Although multiple PPP channel groups are supported per T1/E1 port, all the channel groups must be the same encapsulation type. For example, if one channel group on a given port is set for ipcp encapsulation, another channel group on the same port cannot be set to cem. If MLPPP channels are used, an MLPPP channel group fills up an entire DS1 or E1 link.
The 2-port OC3/STM1 Channelized Adapter card supports ipcp encapsulation of PPP/MLPPP packets for transport over an Ipipe.
The data ports on the 12-port Serial Data Interface card and the RS-232 ports on the 4-port T1/E1 and RS-232 Combination module provide transport between two data devices. Each data stream that is transported across the network can be mapped into a TDM pseudowire (Cpipe) for transport across an MPLS network. The other end can terminate either on another 7705 SAR or a multiplexer capable of terminating the pseudowire.
The 12-port Serial Data Interface card supports frame-relay encapsulation of data on V.35 and X.21 channel groups for transport over a frame relay pseudowire (Fpipe) or IP interworking pseudowire (Ipipe). The 12-port Serial Data Interface card also supports ipcp and cisco-hdlc encapsulation of PPP and Cisco HDLC packets, respectively, for transport over an Ipipe.
The 12-port Serial Data Interface card and the 4-port T1/E1 and RS-232 Combination module can also be part of a system architecture where a circuit originates on an SDI port on the 7705 SAR, transits over an MPLS network, and terminates on a 3600 MainStreet node connected to a 7705 SAR over a T1/E1 connection. In addition to the MPLS network functionality, the 12-port Serial Data Interface card and the 4-port T1/E1 and RS-232 Combination modulec an also operate in a TDM SAP-to-SAP mode where the other SAP can be another port on the 12-port Serial Data Interface card or on a T1/E1 ASAP card.
Access ports on the 8-port Ethernet Adapter card, 8-port Gigabit Ethernet Adapter card, 10-port 1GigE/1-port 10GigE X-Adapter card, the Packet Microwave Adapter card, and the xDSL ports on the 7705 SAR-Wx, can transport traffic from sources such as e911 locators, site surveillance equipment, VoIP phones, and video cameras. The Ethernet traffic is transported over the PSN using Ethernet VLLs.
| Note:
For information on VLLs, refer to the 7705 SAR OS Services Guide, “VLL Services”. |
A microwave link from a Packet Microwave Adapter card port in access mode can peer with user equipment such as a node B or MPR-e radio. The 7705 SAR-8 and the 7705 SAR-18 treat the microwave access link as a normal SAP into a service such as Epipe, Ipipe, or VPLS/VPRN.
Voice ports on the 6-port E&M Adapter card, 8-port Voice & Teleprotection card, and 8-port FXO Adapter card provide voiceband transmission between two analog devices over a digital network. A 7705 SAR-8 or 7705 SAR-18 terminates the voice circuit and then transmits the data over a TDM-based network interface (SAP-to-SAP) or an MPLS packet-based network interface (SAP-to-SDP). For standard TDM, a T1 or E1 interface is used to transmit the data across the network.
For MPLS, any network interface (that is, Ethernet, T1/E1 MLPPP, or OC3/STM1) can be used. The traffic originating from the 6-port E&M Adapter card, 8-port Voice & Teleprotection card, or 8-port FXO Adapter card can be mapped into a TDM pseudowire (Cpipe) for transport across the MPLS network. The 6-port E&M Adapter card, 8-port Voice & Teleprotection card, and 8-port FXO Adapter card support one TDM pseudowire per port.
The voice circuit can terminate on another 7705 SAR-8 or 7705 SAR-18 over the MPLS or T1/E1 TDM connection, on other TDM-capable equipment (such as a 3600 MainStreet node) over a T1/E1 TDM connection, or on other MPLS-capable equipment over an MPLS pseudowire emulation (PWE) connection. A 3600 MainStreet or 1511 MAX can also connect to an FXO port on the 8-port Voice & Teleprotection card.
Voice ports on a 6-port FXS Adapter card can be configured for a PBX application or a PLAR (hotline) application. For a PBX application, the voice circuits are terminated on an FXO interface at a 7705 SAR hub location that is connected to a PBX. The FXO interface can be provided by either an 8-port FXO Adapter card or 8-port Voice & Teleprotection card that is installed in a 7705 SAR-8 or 7705 SAR-18 chassis at the 7705 SAR hub location. For a PLAR application, voice circuits are terminated on an FXS interface on either another 6-port FXS Adapter card or an 8-port Voice & Teleprotection card that is installed in a 7705 SAR-8 or 7705 SAR-18 chassis located at a remote location, or terminated on a 3600 MainStreet or 1511 MAX. A hotline call can also originate from a 3600 MainStreet or 1511 MAX and terminate on an FXS interface on a 6-port FXS Adapter card (or on an FXS interface on an 8-port Voice & Teleprotection card.
SONET/SDH ports in access mode on a 4-port OC3/STM1 Clear Channel Adapter card can be configured for ATM (such as for 3G UMTS Node Bs).
The DS3/E3 clear channel access ports on the 4-port DS3/E3 Adapter card can be configured for ATM PW services (categories CBR, VBR-rt, VBR-nrt, UBR, and UBR+MCR), for TDM PW services to transport 2G traffic from BTSs, and for frame relay PW service.
Access ports on the 2-port OC3/STM1 Channelized Adapter card can be configured for TDM to transport 2G traffic from BTSs or ATM/IMA to transport 3G UMTS traffic from Node Bs. Access ports on the 4-port OC3/STM1 Channelized Adapter card can only be configured for TDM.
All member links of the IMA group must reside on the same card. The 2G traffic is transported across the PSN encapsulated in a TDM VLL. The 3G traffic is transported using ATM VLLs.
For PPP/MLPPP channel groups, the encapsulation type must be ipcp. For Ethernet VLLs, the encapsulation type can be null, dot1q, or qinq. For TDM VLLs, the encapsulation type must be cem. For ATM VLLs, the encapsulation type must be atm.
To support hierarchical QoS (H-QoS), the 7705 SAR supports the configuration of one aggregate CIR rate for all the unshaped 4-priority access egress Ethernet SAPs on a port, thereby ensuring that all the unshaped SAPs can compete with the shaped SAPs on the port for fabric bandwidth. Use the config>port>ethernet>access>egress> unshaped-sap-cir command to set the aggregate CIR rate.
For more information on H-QoS, and shaped and unshaped Ethernet SAPs, refer to the “Per-SAP Aggregate Shapers (H-QoS)” section in the 7705 SAR OS Quality of Service Guide.
For network uplinks on the 16-port T1/E1 ASAP Adapter card, 32-port T1/E1 ASAP Adapter card, 2-port OC3/STM1 Channelized Adapter card, 4-port OC3/STM1 Channelized Adapter card, and 4-port T1/E1 and RS-232 Combination module, standalone PPP ports can be used or MLPPP can be configured on a number of T1/E1 ports or channels. For MLPPP groups, all member links of an MLPPP group must reside on the same T1/E1 ASAP card or the same port on a 2-port OC3/STM1 Channelized Adapter card, 4-port OC3/STM1 Channelized Adapter card, or 4-port T1/E1 and RS-232 Combination module, and they must be of the same type (either E1 or DS1). The encapsulation type for MLPPP must be ppp-auto.
Ethernet ports on the 8-port Ethernet Adapter card, 8-port Gigabit Ethernet Adapter card, 10-port 1GigE/1-port 10GigE X-Adapter card, and Packet Microwave Adapter card can be configured for network mode. Ethernet uplinks can be used as a cost-effective alternative to T1/E1 links.
On the 2-port 10GigE (Ethernet) Adapter card and 2-port 10GigE (Ethernet) module, the Ethernet ports and the v-port can be configured for network mode only.
A microwave link from a Packet Microwave Adapter card port in network mode provides a network uplink to an MPR-e radio. The 7705 SAR-8 or 7705 SAR-18 treats the microwave link as a Gigabit Ethernet network link with MPLS always running over it. All standard MPLS/IP functions available on a network port or SDP are also available on the microwave link.
For network uplinks on the 4-port OC3/STM1 Clear Channel Adapter card, a clear channel port can be configured for POS to connect to the packet network. PPP can be enabled on a port by setting the encapsulation type to ppp-auto.
On the 4-port DS3/E3 Adapter card, a DS3/E3 clear channel port can be configured for PPP as the network uplink. The encapsulation type must be set to ppp-auto.
The 7705 SAR supports both copper and fiber uplinks.
The 7705 SAR supports the configuration of one aggregate CIR rate for all the unshaped network egress Ethernet VLANs on a port, thereby ensuring that all the unshaped VLANs can compete with the shaped VLANs (that is, network interfaces) at the port level for egress bandwidth. Use the config>port>ethernet>network>egress>unshaped-if-cir command to set the aggregate CIR rate.
For more information on shaped and unshaped Ethernet VLANs, refer to the “Per-VLAN Network Egress Shapers” section in the 7705 SAR OS Quality of Service Guide.
Hybrid ports are supported on Ethernet ports, where they provide the capabilities and features of access and network mode ports on a per-VLAN basis. The following services support hybrid port functionality: Epipe PW, Ipipe PW, IP-VPN, VPLS, and IES.
For ingress traffic, QoS and traffic management of a hybrid port behaves in the same way for access and network port mode. For egress traffic, per-SAP and per-VLAN aggregate shapers feed additional access egress and network egress aggregate shapers (dual-rate). Refer to the 7705 SAR OS Quality of Service Guide, “QoS for Hybrid Ports”.
Network VLANs on a hybrid port provide OAM down MEP support, as well as port loopback support (in line mode with latched timers only).
The following hardware supports hybrid ports:
In some scenarios, combining the access and network capabilities under the same port is beneficial. A typical scenario is shown in Figure 1, where a single port hosts both access-side services and a traffic management model together with network-side IP/MPLS routing and switching capabilities simultaneously.
In this scenario, a network interface is configured to ensure connectivity between the cell site 7705 SAR and the aggregation site 7705 SAR. The network interface is used for all IP/MPLS traffic and is bound to VLAN-1. Another VLAN (VLAN-2) is configured to bind the management traffic of a microwave radio (an MPR-e) to an access-side service such as an Ethernet PW or VPLS. For security reasons, many mobile operators prefer to transport management traffic of network elements under a service construct as opposed to basic GRT-based routing. To accommodate this preference, an access-side service and a network interface can be configured to coexist on the same port when the port is configured for hybrid mode.

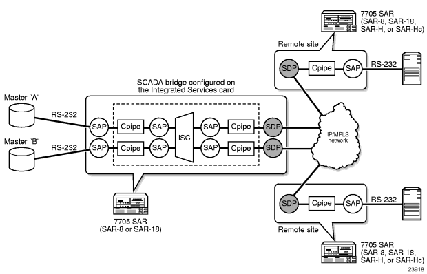
Surveillance, Control, and Data Acquisition (SCADA) bridges are configured on an Integrated Services card as part of the multidrop data bridge (MDDB) functionality. MDDB is an application that is used to support SCADA systems on an 7705 SAR-8 or 7705 SAR-18. For more information on MDDB, see Multi-Drop Data Bridge.
A SCADA bridge can be configured after the IOM is activated (the card slot and card type are designated) and the adapter card slot is preprovisioned with the Integrated Services card mda type.
Multilink point-to-point protocol (MLPPP) is a method of splitting, recombining, and sequencing packets across multiple logical data links. MLPPP is defined in the IETF RFC 1990, The PPP Multilink Protocol (MP).
MLPPP allows multiple PPP links to be bundled together, providing a single logical connection between two routers. Data can be distributed across the multiple links within a bundle to achieve high bandwidth. As well, MLPPP allows for a single frame to be fragmented and transmitted across multiple links. This capability allows for lower latency and also for a higher maximum receive unit (MRU).
Multilink protocol is negotiated during the initial LCP option negotiations of a standard PPP session. A system indicates to its peer that it is willing to perform MLPPP by sending the MP option as part of the initial LCP option negotiation.
The system indicates the following capabilities.
Once MLPPP has been successfully negotiated, the sending system is free to send PDUs encapsulated and/or fragmented with the MP header.
MP introduces a new protocol type with a protocol ID (PID) of 0x003d. Figure 2 and Figure 3 show the MLPPP fragment frame structure. Framing to indicate the beginning and end of the encapsulation is the same as that used by PPP and described in RFC 1662, PPP in HDLC-like Framing.
MP frames use the same HDLC address and control pair value as PPP: Address – 0xFF and Control – 0x03. The 2-octet protocol field is also structured the same way as in PPP encapsulation.


The required and default format for MP is the 24-bit format. During the LCP state, the 12-bit format can be negotiated. The 7705 SAR is capable of supporting and negotiating the alternate 12-bit frame format.
The maximum differential delay supported for MLPPP is 25 ms.
The protocol field is two octets. Its value identifies the datagram encapsulated in the Information field of the packet. In the case of MP, the PID also identifies the presence of a 4-octet MP header (or 2-octet, if negotiated).
A PID of 0x003d identifies the packet as MP data with an MP header.
The LCP packets and protocol states of the MLPPP session follow those defined by PPP in RFC 1661. The options used during the LCP state for creating an MLPPP NCP session are described in the sections that follow.
The B&E bits are used to indicate the start and end of a packet. Ingress packets to the MLPPP process will have an MTU, which may or may not be larger than the maximum received reconstructed unit (MRRU) of the MLPPP network. The B&E bits manage the fragmentation of ingress packets when the packet exceeds the MRRU.
The B-bit indicates the first (or beginning) packet of a given fragment. The E-bit indicates the last (or ending) packet of a fragment. If there is no fragmentation of the ingress packet, both B&E bits are set to true (=1).
Sequence numbers can be either 12 or 24 bits long. The sequence number is 0 for the first fragment on a newly constructed bundle and increments by one for each fragment sent on that bundle. The receiver keeps track of the incoming sequence numbers on each link in a bundle and reconstructs the desired unbundled flow through processing of the received sequence numbers and B&E bits. For a detailed description of the algorithm, refer to RFC 1990.
The Information field is zero or more octets. The Information field contains the datagram for the protocol specified in the protocol field.
The MRRU will have the same default value as the MTU for PPP. The MRRU is always negotiated during LCP.
On transmission, the Information field of the ending fragment may be padded with an arbitrary number of octets up to the MRRU. It is the responsibility of each protocol to distinguish padding octets from real information. Padding must only be added to the last fragment (E-bit set to true).
The FCS field of each MP packet is inherited from the normal framing mechanism from the member link on which the packet is transmitted. There is no separate FCS applied to the reconstituted packet as a whole if it is transmitted in more than one fragment.
The Link Control Protocol (LCP) is used to establish the connection through an exchange of configure packets. This exchange is complete, and the LCP opened state entered, once a Configure-Ack packet has been both sent and received.
LCP allows for the negotiation of multiple options in a PPP session. MP is somewhat different from PPP, and therefore the following options are set for MP and are not negotiated:
Any non-LCP packets received during this phase must be silently discarded.
T1/E1 link hold timers (or MLPPP link flap dampening) guard against the node reporting excessive interface transitions. Timers can be set to determine when link up and link down events are advertised; that is, up-to-down and down-to-up transitions of the interface are not advertised to upper-layer protocols (are dampened) until the configured timer has expired.
The 7705 SAR supports multi-class MLPPP (MC-MLPPP) to address end-to-end delay caused by low-speed links transporting a mix of small and large packets. With MC-MLPPP, large, low-priority packets are fragmented to allow opportunities to send high-priority packets.
MC-MLPPP allows for the prioritization of multiple types of traffic flowing over MLPPP links, such as traffic between the cell site routers and the mobile operator’s aggregation routers. MC-MLPPP, as defined in RFC 2686, The Multi-Class Extension to Multi-Link PPP, is an extension of the MLPPP standard. It allows multiple classes of service to be transmitted over an MLPPP bundle, with each class representing a different priority level mapped to a forwarding class. The highest-priority traffic is transmitted over the MLPPP bundle with minimal delay regardless of the order in which packets are received.
Figure 4 shows the original MLPPP header format that allowed only two implied classes. The two classes were created by transmitting two interleaving flows of packets; one with MLPPP headers and one without. This resulted in two levels of priority sent over the physical link, even without the implementation of multi-class support.
Figure 5 shows the short and long sequence number fragment format MC-MLPPP headers. The short sequence number fragment format header includes two class bits to allow for up to four classes of service. Four class bits are available in the long sequence number fragment format header, but a maximum of four classes are still supported. This extension to the MLPPP header format is detailed in RFC 2686.


The new MC-MLPPP header format uses the previously unused bits before the sequence number as the class identifier to allow four distinct classes of service to be identified.
MC-MLPPP on the 7705 SAR supports scheduling based on multi-class implementation. Instead of the standard profiled queue-type scheduling, an MC-MLPPP encapsulated access port performs class-based traffic servicing. The four MC-MLPPP classes are scheduled in a strict priority fashion, as shown in Table 6.
MC-MLPPP Class | Priority |
0 | Priority over all other classes |
1 | Priority over classes 2 and 3 |
2 | Priority over class 3 |
3 | No priority |
For example, if a packet is sent to an MC-MLPPP class 3 queue and all other queues are empty, the 7705 SAR fragments the packet according to the configured fragment size and begins sending the fragments. If a new packet arrives at an MC-MLPPP class 2 queue while the class 3 fragment is still being serviced, the 7705 SAR finishes sending any fragments of the class 3 packet that are on the wire, then holds back the remaining fragments in order to service the higher-priority packet.
The fragments of the first packet remain at the top of the class 3 queue. For packets of the same class, MC-MLPPP class queues operate on a first-in, first-out basis.
The user configures the required number of MLPPP classes to use on a bundle. The forwarding class of the packet, as determined by the ingress QoS classification, is used to determine the MLPPP class for the packet. The mapping of forwarding class to MLPPP class is a function of the user-configurable number of MLPPP classes. The mapping for 4-class, 3-class, and 2-class MLPPP bundles is shown in Table 7.
FC ID | FC Name | MLPPP Class 4-class Bundle | MLPPP Class 3-class Bundle | MLPPP Class 2-class Bundle |
7 | NC | 0 | 0 | 0 |
6 | H1 | 0 | 0 | 0 |
5 | EF | 1 | 1 | 1 |
4 | H2 | 1 | 1 | 1 |
3 | L1 | 2 | 2 | 1 |
2 | AF | 2 | 2 | 1 |
1 | L2 | 3 | 2 | 1 |
0 | BE | 3 | 2 | 1 |
If one or more forwarding classes are mapped to a queue, the scheduling priority of the queue is based on the lowest forwarding class mapped to it. For example, if forwarding classes 0 and 7 are mapped to a queue, the queue is serviced by MC-MLPPP class 3 in a 4-class bundle model.
The 7705 SAR supports Cisco HDLC, which is an encapsulation protocol for information transfer. Cisco HDLC is a bit-oriented synchronous data-link layer protocol that specifies a data encapsulation method on synchronous serial links using frame characters and checksums.
Cisco HDLC monitors line status on a serial interface by exchanging keepalive request messages with peer network devices. The protocol also allows routers to discover IP addresses of neighbors by exchanging SLARP address-request and address-response messages with peer network devices.
The basic frame structure of a cHDLC frame is shown in Table 8.
Flag | Address | Control | Protocol | Information | FCS |
0x7E | 0x0F, 0x8F | 0x00 | 0x0800, 0x8035 | — | 16 or 32 bit |
The fields in the cHDLC frame have the following characteristics:
The 7705 SAR supports only the SLARP keepalive protocol.
For the SLARP keepalive protocol, each system sends the other a keepalive packet at a user configurable interval. The default interval is 10 seconds. Both systems must use the same interval to ensure reliable operation. Each system assigns sequence numbers to the keepalive packets it sends, starting with zero, independent of the other system. These sequence numbers are included in the keepalive packets sent to the other system. Also included in each keepalive packet is the sequence number of the last keepalive packet received from the other system, as assigned by the other system. This number is called the returned sequence number. Each system keeps track of the last returned sequence number it has received. Immediately before sending a keepalive packet, the system compares the sequence number of the packet it is about to send with the returned sequence number in the last keepalive packet it has received. If the two differ by 3 or more, it considers the line to have failed, and will not route higher-level data across it until an acceptable keepalive response is received.
IMA is a cell-based protocol where an ATM cell stream is inverse-multiplexed and demultiplexed in a cyclical fashion among ATM-supporting channels to form a higher bandwidth logical link. This logical link is called an IMA group. By grouping channels into an IMA group, customers gain bandwidth management capability at in-between rates (for example, between DS1 and DS3 or between E1 and E3) through the addition or removal of channels to or from the IMA group. The 7705 SAR supports the IMA protocol as specified by the Inverse Multiplexing for ATM (IMA) Specification version 1.1.
In the ingress direction, traffic coming over multiple ATM channels configured as part of a single IMA group is converted into a single ATM stream and passed for further processing to the ATM layer, where service-related functions (for example, Layer 2 traffic management or feeding into a pseudowire) are applied. In the egress direction, a single ATM stream (after service functions are applied) is distributed over all paths that are part of an IMA group after ATM layer processing takes place.
An IMA group interface compensates for differential delay and allows for only a minimal cell delay variation. The maximum differential delay supported for IMA is 75 ms on 16-port T1/E1 ASAP Adapter cards and 32-port T1/E1 ASAP Adapter cards and 50 ms on 2-port OC3/STM1 Channelized Adapter cards.
The interface deals with links that are added or deleted, or that fail. The higher layers see only an IMA group and not individual links; therefore, service configuration and management is done using IMA groups, and not individual links that are part of it.
The IMA protocol uses an IMA frame as the unit of control. An IMA frame consists of a series of 128 consecutive cells. In addition to ATM cells received from the ATM layer, the IMA frame contains IMA OAM cells. Two types of cells are defined: IMA Control Protocol (ICP) cells and IMA filler cells. ICP cells carry information used by the IMA protocol at both ends of an IMA group (for example, IMA frame sequence number, link stuff indication, status and control indication, IMA ID, Tx and Rx test patterns, version of the IMA protocol). A single ICP cell is inserted at the ICP cell offset position (the offset may be different on each link of the group) of each frame. Filler cells are used by the transmitting side to fill up each IMA frame in case there are not enough ATM stream cells from the ATM layer, so a continuous stream of cells is presented to the physical layer. Those cells are then discarded by the receiving end. IMA frames are transmitted simultaneously on all paths of an IMA group, and when they are received out of sync at the other end of the IMA group link, the receiver compensates for differential link delays among all paths.
The 7705 SAR provides network synchronization on the following ports:
The 7705 SAR also supports network synchronization on T1/E1 CES circuits.
Line timing mode provides physical layer timing (Layer 1) that can be used as an accurate reference for nodes in the network. This mode is immune to any packet delay variation (PDV) occurring on a Layer 2 or Layer 3 link. Physical layer timing provides the best synchronization performance through a synchronization distribution network.
On the 7705 SAR-F, line timing is supported on:
On the 7705 SAR-M and 7705 SAR-A, line timing is supported on:
On the 7705 SAR-W, line timing is supported on:
On the 7705 SAR-Wx, line timing is supported on:
On the 7705 SAR-H, line timing is supported on:
On the 7705 SAR-Hc, line timing is supported on all Ethernet ports.
On the 7705 SAR-8 and 7705 SAR-18, line timing is supported on:
Synchronous Ethernet is a variant of line timing and is automatically enabled on ports and SFPs that support it. The operator can select a synchronous Ethernet port as a candidate for the timing reference. The recovered timing from this port is then used to time the system. This ensures that any of the system outputs are locked to a stable, traceable frequency source.
Each SONET/SDH port can be independently configured to be loop-timed (recovered from an Rx line) or node-timed (recovered from the SSU in the active CSM).
A SONET/SDH port’s receive clock rate can be used as a synchronization source for the node.
Each DS3/E3 port on the 4-port DS3/E3 Adapter card can be loop-timed (recovered from an Rx line) or node-timed (recovered from the SSU in the active CSM). In addition, each DS1 channel within a DS3 port can be loop-timed, node-timed, or differential-timed. A DS3/E3 port can be configured to be a timing source for the SSU.
Each DS3 CES circuit on a 2-port OC3/STM1 Channelized Adapter card card can be loop-timed (recovered from an Rx line) or free-run (timing source is from its own clock). A DS3 circuit can be configured to be a timing source for the node.
Each T1/E1 port can be independently configured for loop-timing (recovered from an Rx line) or node-timing (recovered from the SSU in the active CSM).
In addition, T1/E1 CES circuits on the following can be independently configured for adaptive timing (clocking is derived from incoming TDM pseudowire packets):
T1/E1 CES circuits on the following can be independently configured for differential timing (recovered from RTP in TDM pseudowire packets):
A T1/E1 port can be configured to be a timing source for the node.
| Note:
Adaptive timing and differential timing are not supported on DS1 or E1 channels that have CAS signaling enabled. |
The GPS RF ports on the 7705 SAR-Wx and 7705 SAR-H GPS Receiver module can provide a synchronization clock to the SSU in the router with the corresponding QL for SSM. This frequency can then be distributed to the rest of the router from the SSU as configured with the ref-order and ql-selection commands; refer to the 7705 SAR OS Basic System Configuration Guide for information. The GPS reference is qualified only if the GPS RF port is operational, has sufficient satellites locked, and has a frequency successfully recovered. A PTP master/boundary clock can also use this frequency reference with PTP peers.
In the event of GPS signal loss or jamming resulting in the unavailability of timing information, the GPS receiver automatically prevents output of clock or synchronization data to the system, and the system can revert to alternate timing sources.
A 7705 SAR using GPS or IEEE 1588v2 PTP for time of day/phase recovery can perform high-accuracy OAM timestamping and measurements. Refer to the 7705 SAR OS Basic System Configuration Guide for information about node timing sources.
IEEE 802.3x Flow Control, which is the process of pausing the transmission based on received pause frames, is supported on Fast Ethernet and Gigabit Ethernet ports. In the transmit direction, the Ethernet ports generate pause frames if the buffer occupancy reaches critical values or if port FIFO buffers are overloaded. Pause frame generation is automatically handled by the Ethernet Adapter card when the system-wide constant thresholds are exceeded. The generation of pause frames ensures that newly arriving frames still can be processed and queued, mainly to maintain the SLA agreements.
If autonegotiation is on for an Ethernet port, enabling and disabling of IEEE 802.3x Flow Control is autonegotiated for receive and transmit directions separately. If autonegotiation is turned off, the reception and transmission of IEEE 802.3x Flow Control is enabled by default and cannot be disabled.
802.3ah Clause 57 (EFM OAM) defines the Operations, Administration, and Maintenance (OAM) sublayer, which is a link level Ethernet OAM that is supported on 7705 SAR Ethernet ports and DSL ports configured as network or access ports. It provides mechanisms for monitoring link operations such as remote fault indication and remote loopback control. EFM OAM is not supported on the 7705 SAR-M GPON module or the 7705 SAR-W Ethernet ports with a GPON SFP installed.
Ethernet OAM gives network operators the ability to monitor the status of Ethernet links and quickly determine the location of failing links or fault conditions.
Because some of the sites where the 7705 SAR will be deployed will only have Ethernet uplinks, this OAM functionality is mandatory. For example, mobile operators must be able to request remote loopbacks from the peer router at the Ethernet layer in order to debug any connectivity issues. EFM OAM provides this capability.
EFM OAM is supported on network and access Ethernet and DSL ports, and is configured at the port level. The access ports can be configured to tunnel the OAM traffic originated by the far-end devices.
EFM OAM has the following characteristics.
The following EFM OAM functions are supported:
For information on Epipe service, refer to the 7705 SAR OS Services Guide, “Ethernet VLL (Epipe) Services”, and the 7705 SAR OS OAM and Diagnostics Guide, “Ethernet OAM Capabilities”.
EFM OAM provides a link-layer frame loopback mode, which can be controlled remotely.
To initiate a remote loopback, the local EFM OAM client sends a loopback control OAMPDU by enabling the OAM remote loopback command. After receiving the loopback control OAMPDU, the remote OAM client puts the remote port into local loopback mode.
OAMPDUs are slow protocol frames that contain appropriate control and status information used to monitor, test, and troubleshoot OAM-enabled links.
To exit a remote loopback, the local EFM OAM client sends a loopback control OAMPDU by disabling the OAM remote loopback command. After receiving the loopback control OAMPDU, the remote OAM client puts the port back into normal forwarding mode.
When a port is in local loopback mode (the far end requested an Ethernet OAM loopback), any packets received on the port will be looped back, except for EFM OAMPDUs. No data will be transmitted from the node; only data that is received on the node will be sent back out.
When the node is in remote loopback mode, local data from the CSM is transmitted, but any data received on the node is dropped, except for EFM OAMPDUs.
Remote loopbacks should be used with caution; if dynamic signaling and routing protocols are used, all services go down when a remote loopback is initiated. If only static signaling and routing is used, the services stay up. On the 7705 SAR, the Ethernet port can be configured to accept or reject the remote-loopback command.
Customers who subscribe to Epipe service might have customer equipment running 802.3ah at both ends. The 7705 SAR can be configured to tunnel EFM OAMPDUs received from a customer device to the other end through the existing network using MPLS or GRE, or to terminate received OAMPDUs at a network or an access Ethernet port.
| Note:
This feature applies only to port-based Epipe SAPs because 802.3ah runs at port level, not at VLAN level. |
While tunneling offers the ability to terminate and process the OAM messages at the head-end, termination on the first access port at the cell site can be used to detect immediate failures or can be used to detect port failures in a timelier manner. The user can choose either tunneling or termination, but not both at the same time.
In Figure 6, scenario 1 shows the termination of received EFM OAMPDUs from a customer device on an access port, while scenario 2 shows the same thing except for a network port. Scenario 3 shows tunneling of EFM OAMPDUs through the associated Ethernet PW. To configure termination (scenario 1), use the config>port>ethernet>efm-oam>no shutdown command.

Dying gasp is used to notify the far end that EFM-OAM is disabled or shut down on the local port. The dying gasp flag is set on the OAMPDUs that are sent to the peer. The far end can then take immediate action and inform upper layers that EFM-OAM is down on the port.
When a dying gasp is received from a peer, the node logs the event and generates an SNMP trap to notify the operator.
Table 9 lists the loopbacks supported on Ethernet, DSL module (6-port DSL Combination module and 8-port xDSL module), and GPON module ports.
Loopback | |||
Ethernet | DSL | GPON | |
Timed network line loopback | ✓ | ✓ | |
Timed and untimed access line loopbacks | ✓ | ✓ | |
Timed and untimed access internal loopbacks | ✓ | ✓ | ✓ |
Persistent access line loopback | ✓ | ||
Persistent access internal loopback | ✓ | ||
MAC address swapping | ✓ | ||
CFM loopback on network and access ports | ✓ | ✓ | ✓ |
CFM loopback on ring ports and v-port | ✓ | ||
A line loopback loops frames received on the corresponding port back towards the transmit direction. Line loopbacks are supported on ports configured for access or network mode.
Similarly, a line loopback with MAC addressing loops frames received on the corresponding port back towards the transmit direction, and swaps the source and destination MAC addresses before transmission. See MAC Swapping for more information.
An internal loopback loops frames from the local router back to the framer. This is usually referred to as an equipment loopback. The transmit signal is looped back and received by the interface. Internal loopbacks are supported on ports configured in access mode.
If a loopback is enabled on a port, the port mode cannot be changed until the loopback has been disabled.
A port can support only one loopback at a time. If a loopback exists on a port, it must be disabled or the timer must expire before another loopback can be configured on the same port. EFM-OAM cannot be enabled on a port that has an Ethernet loopback enabled on it. Similarly, an Ethernet loopback cannot be enabled on a port that has EFM-OAM enabled on it.
When an internal loopback is enabled on a port, autonegotiation is turned off silently. This is to allow an internal loopback when the operational status of a port is down. Any user modification to autonegotiation on a port configured with an internal Ethernet loopback will not take effect until the loopback is disabled.
The loopback timer can be configured from 30 s to 86400 s. All non-zero timed loopbacks are turned off automatically under the following conditions: an adapter card reset, DSL module reset, GPON module reset, an activity switch, or timer expiry. Line or internal loopback timers can also be configured as a latched loopback by setting the timer to 0 s, or as a persistent loopback with the persistent keyword. Latched and persistent loopbacks are enabled indefinitely until turned off by the user. Latched loopbacks survive adapter card resets and activity switches, but are lost if there is a system restart. Persistent loopbacks survive adapter card resets and activity switches and can survive a system restart if the admin-save or admin-save-detail command was executed prior to the restart. Latched loopbacks (untimed) and persistent loopbacks can be enabled only on Ethernet access ports.
Persistent loopbacks are the only Ethernet loopbacks saved to the database by the admin-save and admin-save-detail commands.
Typically, an Ethernet port loopback only echoes back received frames. That is, the received source and destination MAC addresses are not swapped. However, not all Ethernet equipment supports echo mode, where the original sender of the frame must support receiving its own port MAC address as the destination MAC address.
The MAC swapping feature on the 7705 SAR is an optional feature that will swap the received destination MAC address with the source MAC address when an Ethernet port is in loopback mode. After the swap, the FCS is recalculated to ensure the validity of the Ethernet frame and to ensure that the frame is not dropped by the original sender due to a CRC error.
MAC swapping is not supported on the GPON module, 6-port DSL Combination module, or 8-port xDSL module.
EFM OAM and line loopback are mutually exclusive. If one of these functions is enabled, it must be disabled before the other can be used.
However, a line loopback precedes the dot1x behavior. That is, if the port is already dot1x-authenticated it will remain so. If it is not, EAP authentication will fail.
Ethernet port-layer line loopback and Ethernet port-layer internal loopback can be enabled on the same port with the down-when-looped feature. EFM OAM cannot be enabled on the same port with the down-when-looped feature. For more information, see Ethernet Port Down-When-Looped.
Connectivity fault management (CFM) loopback support for loopback messages (LBMs) on Ethernet ports allows operators to run standards-based Layer 1 and Layer 2 OAM tests on ports receiving unlabeled packets.
The 7705 SAR supports CFM MEPs associated with different endpoints (that is, spoke SDP Down MEPs, network interface facility MEPs, and SAP Up and SAP Down MEPs). In addition, for traffic received from an uplink (network ingress), the 7705 SAR supports CFM LBM for both labeled and unlabeled packets. CFM loopbacks are applied to the Ethernet port.
Refer to the 7705 SAR OS OAM and Diagnostics Guide, “Ethernet OAM Capabilities”, for information on CFM MEPs.
Figure 7 shows an application where an operator leases facilities from a transport network provider in order to transport traffic from a cell site to their MTSO. The operator leases a certain amount of bandwidth between the two endpoints (the cell site and the MTSO) from the transport provider, who offers Ethernet Virtual Private Line (EVPL) or Ethernet Private Line (EPL) PTP service. Before the operator offers services on the leased bandwidth, the operator runs OAM tests to verify the SLA. Typically, the transport provider (MEN provider) requires that the OAM tests be run in the direction of (towards) the first Ethernet port that is connected to the transport network. This is done in order to eliminate the potential effect of queuing, delay, and jitter that may be introduced by a spoke SDP or SAP.

Figure 7 shows an Ethernet verifier at the MTSO that is directly connected to the transport network (in front of the 7750 SR). Thus, the Ethernet OAM frames are not label-encapsulated. Given that Ethernet verifiers do not support label operations and the transport provider mandates that OAM tests be run between the two hand-off Ethernet ports, the verifier cannot be relocated behind the 7750 SR node at the MTSO. Therefore, CFM loopback frames received are not MPLS-encapsulated, but are simple Ethernet frames where the type is set to CFM (dot1ag or Y.1731).
The following list contains important facts to consider when working with CFM loopbacks:
Newly provisioned circuits are often put into loopback with a physical loopback cable for testing and to ensure the ports meet the SLA. If loopbacks are not cleared, or physically removed, by the operator when the testing is completed, they can adversely affect the performance of all other SDPs and customer interfaces (SAPs). This is especially problematic for point-to-multipoint services such as VPLS, since Ethernet does not support TTL, which is essential in terminating loops.
The down-when-looped feature is used on the 7705 SAR to detect loops within the network and to ensure continued operation of other ports. When the down-when-looped feature is activated, a keepalive loop PDU is transmitted periodically toward the network. The Ethernet port then listens for returning keepalive loop PDUs. In unicast mode, a loop is detected if any of the received PDUs have an Ethertype value of 9000, which indicates a loopback (Configuration Test Protocol), and the source (SRC) and destination (DST) MAC addresses are identical to the MAC address of the Ethernet port. In broadcast mode, a loop is detected if any of the received PDUs have an Ethertype value of 9000 and the SRC MAC address matches the MAC address of the Ethernet port and the DST MAC address matches the broadcast MAC address. When a loop is detected, the Ethernet port is immediately brought down. Down-when-looped is supported on Ethernet ports, DSL module ports, and GPON module ports.
Ethernet port-layer line loopbacks and the down-when-looped feature can be enabled on the same port. The keepalive loop PDU is still transmitted; however, if the port receives its own keepalive loop PDU, the keepalive PDU is extracted and processed to avoid infinite looping.
Ethernet port-layer internal loopbacks and the down-when-looped feature can also be enabled on the same port. When the keepalive PDU is internally looped back, it is extracted and processed as usual. If the SRC MAC address matches the port MAC address, the port is disabled due to detection of a loop. If the SRC MAC address is a broadcast MAC address because the swap-src-dst-mac option in the loopback command is enabled, then there is no change to port status and it remains operationally up.
EFM OAM and down-when-looped cannot be enabled on the same port.
The 2-port 10GigE (Ethernet) Adapter card can be installed in a 7705 SAR-8 or 7705 SAR-18 chassis and the 2-port 10GigE (Ethernet) module can be installed in a 7705 SAR-M to connect to and from access rings carrying a high concentration of traffic. For the maximum number of cards or modules supported per chassis, see Table 2.
A number of 7705 SAR nodes in a ring typically aggregate traffic from customer sites, map the traffic to a service, and connect to an SR node. The SR node acts as a gateway point out of the ring. A 10GigE ring allows for higher bandwidth services and aggregation on a per-7705 SAR basis. The 2-port 10GigE (Ethernet) Adapter card/module increases the capacity of backhaul networks by providing 10GigE support on the aggregation nodes, thus increasing the port capacity.
In a deployment of a 2-port 10GigE (Ethernet) Adapter card/module, each 7705 SAR node in the ring is connected to the east and west side of the ring over two different 10GigE ports. If 10GigE is the main uplink, the following are required for redundancy:
With two cards per 7705 SAR-8 or 7705 SAR-18 node, for example, east and west links of the ring can be terminated on two different adapter cards, reducing the impact of potential hardware failure.
The physical ports on the 2-port 10GigE (Ethernet) Adapter card/module boot up in network mode and this network setting cannot be disabled or altered. At boot-up, the MAC address of the virtual port (v-port) is programmed automatically for efficiency and security reasons.
There is native built-in Ethernet bridging among the ring ports and the v-port. Bridging destinations for traffic received from one of the ring ports include the 10GigE ring port and the network interface(s) on the v-port. Bridging destinations for traffic received from the v-port include one or both of the 10GigE ring ports.
With bridging, broadcast and multicast frames are forwarded over all ports except the received one. Unknown frames are forwarded to both 10GigE ports if received from the v-port or forwarded to the other 10GigE port only if received from one of the 10GigE ports (the local v-port MAC address is always programmed).
The bridge traffic of the physical 10GigE ports is based on learned and programmed MAC addresses.
Because of the services overhead (that is, pseudowire/VLL, MPLS tunnel, dot1q/qinq and dot1p overhead), it is crucial that configurable variable frame size be supported for end-to-end service delivery.
Observe the following general rules when planning your service and physical Maximum Transmission Unit (MTU) configurations.
For more information, refer to the “MTU Settings” section in the 7705 SAR OS Services Guide. To configure various MTU points, use the following commands:

Frame size configuration is supported for an Ethernet port configured as an access or a network port.
For an Ethernet adapter card that does not support jumbo frames, all frames received at an ingress network or access port are policed against 1576 bytes (1572 + 4 bytes of FCS), regardless of the port MTU. Any frames longer than 1576 bytes are discarded and the “Too Long Frame” and “Error Stats” counters in the port statistics display are incremented. See Jumbo Frames for more information.
At network egress, Ethernet frames are policed against the configured port MTU. If the frame exceeds the configured port MTU, the “Interface Out Discards” counter in the port statistics is incremented.
IP fragmentation is used to fragment a packet that is larger than the MTU of the egress interface, so that the packet can be transported over that interface.
For IPv4, the router fragments or discards the IP packets based on whether the DF (Do not fragment) bit is set in the IP header. If the packet that exceeds the MTU cannot be fragmented, the packet is discarded and an ICMP message “Fragmentation Needed and Don’t Fragment was Set” is sent back to the source IP address.
For IPv6, the router cannot fragment the packet so must discard it. An ICMP message “Packet too big” is sent back to the source node.
As a source of self-generated traffic, the 7705 SAR can perform packet fragmentation.
Jumbo frames are supported on Ethernet ports except on the 8-port Ethernet Adapter card (version 1), the 7705 SAR-8 (with CSMv1), and the 7705 SAR-F.
The maximum MTU size for a jumbo frame on the 7705 SAR is 9732 bytes. The maximum MTU for a jumbo frame may vary depending on the Ethernet encapsulation type, as shown in Table 10. The calculations of the other MTU values (service MTU, path MTU, and so on) are based on the port MTU. The values in Table 10 are also maximum receive unit (MRU) values. MTU values are user-configured values. MRU values are the maximum MTU value that a user can configure on an adapter card that supports jumbo frames.
Encapsulation | Maximum MTU (bytes) |
Null | 9724 |
Dot1q | 9728 |
QinQ | 9732 |
For an Ethernet Adapter card, all frames received at an ingress network or access port are policed against the MRU for the ingress adapter card, regardless of the configured MTU. Any frames larger than the MRU are discarded and the “Too Long Frame” and “Error Stats” counters in the port statistics display are incremented.
At network egress, frames are checked against the configured port MTU. If the frame exceeds the configured port MTU and the DF bit is set, then the “MTU Exceeded” discard counter will be incremented on the ingress IP interface statistics display, or on the MPLS interface statistics display if the packet is an MPLS packet.
For example, on adapter cards that do not support an MTU greater than 2106 bytes, fragmentation is not supported for frames greater than the maximum supported MTU for that card (that is, 2106 bytes). If the maximum supported MTU is exceeded, the following occurs.
Jumbo frames offer better utilization of an Ethernet link because as more payload is packed into an Ethernet frame of constant size, the ratio of overhead to payload is minimized.
From the traffic management perspective, large payloads may cause long delays, so a balance between link utilization and delay must be found. For example, for ATM VLLs, concatenating a large number of ATM cells when the MTU is set to a very high value could generate a 9-kbyte ATM VLL frame. Transmitting a frame that large would take more than 23 ms on a 3-Mb/s policed Ethernet uplink.
The 7705 SAR-8 (with CSMv2) and the 7705 SAR-18 do not support ingress fragmentation, and this is true for jumbo frames. Hence, any jumbo frame packet arriving on one of these routers that gets routed to an adapter card that does not support jumbo frame MTU (for example, a 16-port T1/E1 ASAP Adapter card or a 4-port OC3/STM1 Channelized Adapter card) is discarded if the packet size is greater than the TDM port’s maximum supported MTU. If the maximum-supported MTU is exceeded, the following occurs.
For example, if a packet arrives on an 8-port Gigabit Ethernet Adapter card and is to be forwarded to a 16-port T1/E1 ASAP Adapter card with a maximum port MTU of 2090 bytes and a channel group configured for PPP with the port MTU of 1000 bytes, the following may occur.
The 7705 SAR-A, 7705 SAR-H, 7705 SAR-Hc, 7705 SAR-M, 7705 SAR-W, and 7705 SAR-Wx are able to fragment packets between Ethernet ports (which support jumbo frames) and TDM ports (which do not support jumbo frames). In this case, when a packet arrives from a port that supports jumbo frames and is routed to a port that does not support jumbo frames (that is, a TDM port) the packet will get fragmented to the port MTU of the TDM port.
For example, if a packet arrives on a 7705 SAR-A and is to be forwarded to a TDM port that has a maximum port MTU of 2090 bytes and a channel group configured for PPP with the port MTU of 1000 bytes (PPP port MTU), the following may occur.
Jumbo frames are supported in a multicast configuration as long as all adapter cards in the multicast group support jumbo frames. If an adapter card that does not support jumbo frames is present in the multicast group, the replicated multicast jumbo frame packet will be discarded by the fabric because of an MRU error of the fabric port (RX).
The multicast group replicates the jumbo frame for all adapter cards, regardless of whether they support jumbo frames, only when forwarding the packet through the fabric. The replicated jumbo frame packet is discarded on adapter cards that do not support jumbo frames.
For the Packet Microwave Adapter card (PMC), ensure that the microwave hardware installed with the card supports the corresponding jumbo frame MTU. If the microwave hardware does not support the jumbo frame MTU, it is recommended that the MTU of the PMC port be set to the maximum frame size that is supported by the microwave hardware.
Table 11 displays the default and maximum port MTU values that are dependent upon the port type, mode, and encapsulation type.
Port Type | Mode | Encap Type | Default (bytes) | Max MTU (bytes) |
10/100 Ethernet 1 | Access/ Network | null | 1514 | 9724 2 |
dot1q | 1518 | 9728 2 | ||
qinq 3 | 1522 (access only) | 9732 (access only) 2 | ||
GigE SFP 1 | Access/ Network | null | 1514 (access) 1572 (network) | 9724 (access and network) |
dot1q | 1518 (access) 1572 (network) | 9728 (access and network) | ||
qinq 3 | 1522 (access only) | 9732 (access only) | ||
Ring port | Network | null | 9728 (fixed) | 9728 (fixed) |
v-port (on Ring adapter card) | Network | null | 1572 | 9724 |
dot1q | 1572 | 9728 | ||
DSL: SHDSL bonding (7705 SAR-M) | Access/ Network | null | 1514 (access) 1572 (network) | 2044 |
dot1q | 1518 (access) 1572 (network) | 2048 | ||
DSL: xDSL bonding (7705 SAR-M) | Access/ Network | null | 1514 (access) 1572 (network) | 1996 |
dot1q | 1518 (access) 1572 (network) | 2000 | ||
DSL: xDSL bonding (7705 SAR-Wx) | Access/ Network | null | 1514 (access) 1572 (network) | 1996 |
dot1q | 1518 (access) 1572 (network) | 2000 | ||
qinq 3 | 1522 (access only) | 2000 (access only) | ||
GPON | Access/ Network | null | 1514 (access) 1572 (network) | 2000 |
dot1q | 1518 (access) 1572 (network) | 2000 | ||
TDM (PW) | Access | cem | 1514 | 1514 |
TDM (ATM PW) | Access | atm | 1524 | 1524 |
TDM (FR PW) | Access | frame-relay | 1514 | 2090 |
TDM (HDLC PW) | Access | hdlc | 1514 | 2090 |
TDM (IW PW) | Access | cisco-hdlc | 1514 | 2090 |
TDM (PPP/MLPPP) | Access | ipcp | 1502 | 2090 |
Network | ppp-auto | 1572 | 2090 | |
Serial V.35 or X.21 4 (FR PW) | Access | frame-relay | 1514 | 2090 |
Serial V.35 or X.21 4 (HDLC PW) | Access | hdlc | 1514 | 2090 |
Serial V.35 or X.21 4 (IW PW) | Access | frame-relay | 1514 | 2090 |
ipcp | 1502 | 2090 | ||
cisco-hdlc | 1514 | 2090 | ||
SONET/SDH | Access | atm | 1524 | 1524 |
SONET/SDH | Network | ppp-auto | 1572 | 2090 |
Notes:
For more information, refer to the “MTU Settings” section in the 7705 SAR OS Services Guide.
Based on the IEEE 802.1AX-2008 (IEEE 802.3ad) standard, the 7705 SAR can support Link Aggregation Groups (LAGs), which is the bundling of physical Ethernet links (ports) into one logical link between two network devices. Link aggregation specifies the establishment of data terminal equipment (DTE) to DTE logical links, consisting of N parallel instances of full duplex point-to-point links operating at the same data rate. LAG adds redundancy and improves resiliency between two network devices. If an active Ethernet link in a LAG fails, a standby link exists as backup. During normal operation, the standby link remains operationally down while the active link transports traffic.
The Link Aggregation Control Protocol (LACP) is used to make the selection of the active link in a LAG predictable and compatible with any vendor equipment.
Note:
|
A LAG can have a maximum of 2 links (only one link can be active at a time) and can only be configured on access ports with active/standby operation. The Selection Logic determines that a link should operate on standby (for information on the Selection Logic used, refer to the IEEE 802.1AX-2008 standard). The links must be distributed over two different adapter cards to provide redundancy and minimize the impact of an adapter card failure on the LAG. LAGs are not supported on the 7705 SAR-F, 7705 SAR-H, 7705 SAR-Hc, 7705 SAR-M, 7705 SAR-A, 7705 SAR-W, or 7705 SAR-Wx.
A subgroup is a group of links within a LAG. A subgroup can have a maximum of one member link and a LAG can have a maximum of two subgroups.
Figure 9 shows the interconnection between a DSLAM and a LAG aggregation node. In this configuration, LAG is used to protect against hardware failure. If the active link goes down, the link on standby takes over (see Figure 10). The links are distributed across two different adapter cards to eliminate a single point of failure.


LACP is used to make the selection of active links predictable and compatible with any vendor equipment. Refer to the IEEE STD 802.3-2002, Section 3, Clause 43.6.1 standard, which describes how LACP handles active/standby operation.
In most configurations, LACP is required and, since it is disabled by default, it is necessary to enable it. LACP operates in either passive or active mode. It is assumed that the partner system also has LACP set. If the mode of the partner system is passive, the mode on the 7705 SAR must be active.
| Note:
LACP cannot be configured for static LAG. For more information on static LAG, see Static LAG (Active/Standby LAG Operation without LACP). |
LACP handles active/standby operation of LAG subgroups as follows.
In order to avoid traffic congestion and ease the effects of possible bursts, a fabric shaper is implemented on each adapter card. Traffic being switched to a LAG SAP on an access interface goes through fabric shapers that are either in aggregate mode or destination mode. When in destination mode, the multipoint shaper is used to set the rate on all adapter cards. For more information on the modes used in fabric shaping, refer to the 7705 SAR OS Quality of Service Guide, “Configurable Ingress Shaping to Fabric (Access and Network)”.
| Note:
Even though the multipoint shaper is used to set the fabric shaping rate for traffic switched to a LAG SAP, it is the per-destination unicast counters that are incremented to show the fabric statistics rather than the multipoint counter. Only the fabric statistics of the active port of the LAG are incremented, not the standby port. |
Multi-chassis LAG (MC-LAG) prevents service interruptions that are caused by 7705 SAR nodes that are taken out of service for maintenance, upgrades, or relocation. MC-LAG also provides redundancy for incidents of peer nodal failure. This improves network resiliency. When typically used at access or aggregation sites, MC-LAG ensures high availability without service disruptions by providing redundant access or aggregation nodes.
MC-LAG extends the link level redundancy provided by LAG to include protection against failure of a 7705 SAR node. With MC-LAG, a CE device can be connected to two redundant-pair peer nodes. The redundant-pair peer nodes act like a single node, using active/standby signaling to ensure that only one peer node is used at a time. The redundant-pair peer nodes appear to be a single system as they share the same MAC address and system priority when implementing MC-LAG. Availability and status information are exchanged through an MC-LAG Control Protocol (MCCP). It is used to ensure that one peer is active and to synchronize information between the peers. Figure 11 shows MC-LAG configured on a network at access and aggregation sites.

A peer is configured by specifying its IP address, to which the MCCP packets are sent. The LAG ID, system priority, and MAC address for the MC-LAG are also configured under the peer. Up to 16 MC-LAGs can be configured and they can either use the same peer or different peers, up to a maximum of 4 peers.
It is possible to specify the remote LAG ID in the MC-LAG lag command to allow the local and remote LAG IDs to be different on the peers. If there are two existing nodes which already have LAG IDs that do not match, and an MC-LAG is to be created using these nodes, then the remote LAG ID must be specified so that the matching MC-LAG group can be found. If no matching MC-LAG group can be found between neighbor systems, the individual LAGs will operate as usual and no MC-LAG operation is established.
Two timer options, keep-alive-interval and hold-on-neighbor-failure, are available in the MC-LAG configuration. The keep-alive-interval option specifies the frequency of the messages expected to be received from the remote peer and is used to determine if the remote peer is still active. If hold-on-neighbor-failure messages are missed, then it is assumed that the remote peer is down.
ICB (Inter-Chassis Backup) spoke SDPs are supported for use with Epipe services in an MC-LAG configuration. ICB spoke SDPs provide resiliency by reducing packet loss when an active endpoint is switched from a failed node of an MC-LAG group to a standby node.
For example, if a port on an active MC-LAG node fails, the port on one of the peers becomes active, but traffic continues to route to the previously active MC-LAG node until it detects the failure. ICB spoke SDPs ensure that in-flight packets are delivered to the newly active MC-LAG node. Two ICB spoke SDPs must be created. The ICB associated with the MC-LAG on the first node must be associated with the pseudowire on the second node. Likewise, the ICB associated with the MC-LAG on the second node must be associated with the pseudowire on the first node.
| Note:
A 7705 SAR node in an MC-LAG configuration that has an ICB spoke SDP configured on it with the MC-LAG in standby mode does not terminate Ethernet CFM frames. It transparently switches the frames to the other node of the MC-LAG group. This mode of operation is consistent with the 7705 SAR operating in S-PE mode. |
Enabling the LAG slave-to-partner parameter ensures synchronized activity switching between the multi-chassis and the single-chassis endpoints. When multi-chassis endpoints are configured in slave-to-partner mode, multi-chassis endpoints always follow the single-chassis activity. The link that is promoted as active via the single-chassis endpoint is used as the active link. Enabling slave-to-partner ensures that out-of-sync scenarios do not occur for the LAG. A multi-chassis pair with pseudowire redundancy and ICBs is always able to direct traffic to the active endpoint, so enabling slave-to-partner does not impose any risk on the network side.
MC-LAG includes support for hash–based peer authentication, configurable heartbeat timers between peers, heartbeat multiplier, LAG bound to MC-LAG with LACP and support for any valid IP link between peers for the multi-chassis Control Protocol (MCCP). MC-LAG supports a configurable fault propagation delay and also provides an option to shut down a MEP on a standby endpoint.
MC-LAG maintains state across a CSM switchover event. The switchover event is transparent to peer MC-LAG nodes where sessions and state are preserved. MC-LAG is supported on the following platforms and adapter cards:
Some Layer 2 capable network equipment devices support LAG protected links in an active/standby mode but without LACP. This is commonly referred to as static LAG. In order to interwork with these products, the 7705 SAR supports configuring LAG without LACP.
LACP provides a standard means of communicating health and status information between LAG peers. If LACP is not used, the peers must be initially configured in a way that ensures that the ports on each end are connected and communicating. Otherwise, LAG will not be active. Which LAG peer is made active is a local decision. If the port priorities are the same for all ports, it is possible that the two ends will select ports on different physical links and LAG will not be active. Decide the primary link by setting the port priority for the LAG on each peer to ensure that the active ports on each end coincide with the same physical link.
The key parameters for configuring static LAG are selection-criteria (set to best-port) and standby-signaling (set to power-off). The selection criteria is used to determine which selection algorithm decides the primary port (the active port in a no-fault condition). It is always the subgroup with the best-port (the highest-priority port - lowest configured value) that is chosen as the active subgroup. The selection criteria must be set to best-port before standby signaling can be placed in power-off mode. Once the selection criteria is set to best-port, setting the standby-signaling parameter to power-off causes the transmitters on the standby ports to be powered down.
After a switchover caused by a failure on the active link, the transmitters on the standby link are powered on. The switch time for static LAG is typically longer than it is with LACP, due to the time it takes for the transmitters to come up and transmission to be established. When the fault is restored, static LAG causes a revertive switch to take place. The revertive switch is of shorter duration than the initial switchover since the system is able to prepare the other side for the switch and initiate the switchover once it is ready.
| Note:
Since the transmitters on the standby link are off, it is not possible for the LAG to respond to a physical disconnect (fault) on the standby link. This means that it is possible to have a failure on the active link result in a switch to a failed standby link. |
The 7705 SAR supports per-flow-based hashing, which guarantees that packets within the same traffic flow are not reordered. Per-flow hashing uses information in a packet as an input to the hash function, ensuring that any given traffic flow maps to the same egress ECMP path. Because the hash uses information in the packet, traffic for the same SAP or interface may be transported across different ECMP paths. Depending on the type of traffic that needs to be distributed into an ECMP path, different variables are used as input to the hashing algorithm that determines the next-hop selection.
Per-flow-based hashing has the following characteristics.
For ECMP on an iLER, VLL and VPLS traffic is mapped to a link on a per-service-ID basis.
ECMP-enabled IP traffic under an IP-VPN context is hashed first on a per-IP, next-hop basis (as described in IP ECMP under IP-VPN). For LDP ECMP (that is, multiple label forwarding-capable next hops to a given IP next hop), the flow is then hashed a second time, with the same hash attributes/algorithm.
ECMP operation consists of an initial hash based on the source global IP ifindex (accessible via the show>router>interface context) and system IP address. Each label in the stack is then hashed separately with the result of the previous hash, up to a maximum of six labels. The net result is used to select which LDP FEC next hop to send the packet to using a threshold hashing operation of the net result with the number of next hops. Threshold hashing is described in RFC 2992, Analysis of an Equal-Cost Multi-Path Algorithm.If there is a single next hop for the LDP FEC, or if the packet is received on an RSVP incoming label map (ILM), then a single next hop exists.
In the first hash round of ECMP, the algorithm parses down the label stack (up to six labels), and once it hits the bottom, it checks the next nibble. If the nibble value is 4, the packet is assumed to be an IPv4 packet. The result of the label hash is then fed into another hash along with the source and destination address fields in the IP packet header. If the nibble value is not 4, it will just use the label stack hash already calculated for the ECMP path selection.
IP ECMP under the global routing table (GRT) is supported for both network and access IP interfaces. Unicast IP traffic routed by a router is hashed using the IP source address and destination address headers in the packet.
Unicast IP traffic routed by a router within the IP-VPN context is hashed using the IP source address and destination address headers in the packet. For ECMP-enabled IP traffic under an IP-VPN context riding over ECMP-enabled LDP links, traffic is hashed twice. ECMP-enabled IP traffic under an IP-VPN context is hashed first on a per-IP, next-hop basis. For LDP ECMP (that is, multiple label forwarding-capable next hops to a given IP next hop), the flow is then hashed a second time, with the same hash attributes/algorithm. Note that for LDP ECMP, traffic is hashed twice even if IP ECMP under the IP-VPN context is not enabled.For ECMP-enabled IP traffic under an IP-VPN context with Layer 3 spoke SDP links that are riding over ECMP-enabled LDP links, traffic is hashed twice, much like the above scenario. The main difference is that the second hash at the Layer 3 spoke SDP interface front is based on the service ID. After the first hashing of the ECMP-enabled IP traffic on a per-IP, next-hop basis at the far-end PE, traffic is hashed again over the ECMP links at the LDP front based on the service ID.
The IP ECMP Layer 4 load balancing option includes the TCP/UDP source and destination port numbers in addition to the source and destination IP addresses in per-flow hashing of IP packets. By including the Layer 4 information, a source address/destination address default hash flow can be subdivided into multiple finer-granularity flows if the ports used between a given source address and destination address vary.
IP ECMP has the option to include the tunnel endpoint identifier (TEID) field of the GTP header on Layer 3 interfaces. GTP is the GPRS (general packet radio service) tunneling protocol. The hash algorithm identifies the GTP-C or GTP-U protocol by checking the UDP destination port (2152) of an IP packet to be hashed. If the value of the port matches, the packet is assumed to be GTP-U/C. For GTPv1 packets, the TEID value from the expected header location is then included in the hash. For GTPv2 packets, the TEID flag value in the expected header is additionally checked to verify whether the TEID is present. If the TEID is present, it is included in the hash algorithm inputs.
The TEID is used in addition to the GTP tunnel IP hash inputs: source address/destination address and source port/destination port (if Layer 4 load balancing is enabled). If a non-GTP packet is received on the GTP UDP ports, the packet is hashed as GTP.
The ECMP decision is performed at the ingress point on the node; therefore, ECMP must always be enabled on the ingress interface. To enable LDP and GRT IP ECMP, the config>router>ecmp command is used. Refer to the 7705 SAR OS Router Configuration Guide, “Router Global Commands”, for more information.To enable IP ECMP on a per-IP, next-hop basis (far-end PE) under the IP-VPRN context, the config>service>vprn>ecmp command is used. Refer to the 7705 SAR OS Services Guide, “VPRN Service Command Reference” for more information.The l4-load-balancing and lsr-load-balancing commands under the system hierarchy (config>router>interface) enable optional Layer 4 load balancing and LSR load balancing for the node. The same commands under the IES and IP-VPN contexts can be used to overwrite the system-wide defaults. Refer to the 7705 SAR OS Router Configuration Guide, “Router Interface Commands” and to the 7705 SAR OS Services Guide, “IES Service Interface Commands” and “VPRN Service Command Reference” for more information.
Automatic Protection Switching (APS) allows users to protect a SONET/SDH port or link with a backup (protection) facility of the same speed but from a different adapter card. APS provides protection against a port, signal, or adapter card failure. The 7705 SAR supports 1+1 APS protection in compliance with GR-253-CORE and ITU-T Recommendation G.841 to provide SONET/SDH carrier-grade reliability. All SONET/SDH paths and channels within a SONET/SDH port are protected.
When APS is enabled, the 7705 SAR constantly monitors the health of the APS links, APS ports, and APS-equipped adapter cards. If the signal on the active (working) port degrades or fails, the network proceeds through a predefined sequence of steps to transfer (or switch over) traffic processing to the protection port. This switchover is done very quickly to minimize lost traffic. Traffic is streamed from the protection port until the working port fault is cleared, at which time the traffic may optionally be reverted to the working port.
The 7705 SAR supports 1+1 single-chassis APS (SC-APS) and 1+1 multi-chassis APS (MC-APS). In an SC-APS group, both the working and protection circuit must be configured on the same node, whereas an MC-APS group can be on two separate nodes, providing protection from node failure in addition to protection from link and hardware failure.
SC-APS is supported on the 2-port OC3/STM1 Channelized Adapter card for TDM CES (Cpipes) and TDM CESoETH with MEF 8, on the 4-port OC3/STM1 Clear Channel Adapter card when configured for POS, and on the 4-port OC3/STM1 Channelized Adapter card for Cpipes only.
MC-APS is supported on the 2-port OC3/STM1 Channelized Adapter card for TDM CES (Cpipes) and TDM CESoETH with MEF 8 and on the 4-port OC3/STM1 Channelized Adapter card for Cpipes only.
Unidirectional and bidirectional modes are supported:
In an SC-APS group, both the working and protection circuits terminate on the same node. SC-APS is supported in unidirectional or bidirectional mode on the 2-port OC3/STM1 Channelized Adapter card for TDM CES (Cpipes) and TDM CESoETH with MEF 8, on the 4-port OC3/STM1 Channelized Adapter card for Cpipes only, and on the 4-port OC3/STM1 Clear Channel Adapter card network side (configured for POS operation). SC-APS with TDM access is supported on DS3, DS1, E1, and DS0 (64 kb/s) channels.
The working and protection circuits of an SC-APS group must be on two ports on different adapter cards.
Figure 12 shows an SC-APS group with physical port and adapter card failure protection. Figure 13 shows a packet network using SC-APS.


MC-APS extends the functionality offered by SC-APS to include protection against 7705 SAR node failure. MC-APS is supported in bidirectional mode on the 2-port OC3/STM1 Channelized Adapter card for TDM CES (Cpipes) and TDM CESoETH with MEF 8, and on the 4-port OC3/STM1 Channelized Adapter card for Cpipes only. MC-APS with TDM access is supported on DS3, DS1, E1, and DS0 (64 kb/s) channels. TDM SAP-to-SAP with MC-APS is not supported.
With MC-APS, the working circuit of an APS group can be configured on one 7705 SAR node while the protection circuit of the same APS group is configured on a different 7705 SAR node. The working and protection nodes are connected by an IP link that establishes an MC-APS signaling path between the nodes. The working and protection circuit must have compatible configurations, such as the same speed, framing, and port type. The circuits in APS group in both the working and protection nodes must also have the same group ID, but they can have different port descriptions. In order for MC-APS to function correctly, pseudowire redundancy must be configured on both the working and protection circuits. For more information, refer to 7705 SAR OS Services Guide. MC-APS with pseudowire redundancy also supports Inter-Chassis Backup (ICB); see MC-APS and Inter-Chassis Backup for more information.
The working and protection nodes can be different platforms, such as a 7705 SAR-8 and a 7705 SAR-18. However, to prevent possible switchover performance issues, it is recommended to avoid mixing different platform types in the same MC-APS group. The 7705 SAR does not enforce configuration consistency between the working circuit and the protection circuit. Additionally, no service or network-specific configuration data is signaled or synchronized between the two routers.
An MC-APS signaling path is established using the IP link between the two routers by matching APS group IDs. A heartbeat protocol can also be used to add robustness. The signaling path verifies that one router is configured as the working circuit and the other is configured as the protection circuit. In case of a mismatch, an incompatible neighbor trap is generated. The protection router uses K1/K2 byte data, member circuit status, and APS Tools Commands to select the working circuit. Changes in working circuit status are sent across the MC-APS signaling link from the working router to keep the protection router synchronized. External requests such as lockout, force, and manual switches are allowed only on the APS group with the protection circuit.
Figure 14 shows an MC-APS group with physical port, adapter card, and node protection. Figure 15 shows a packet network using MC-APS.


ICB (Inter-Chassis Backup) spoke SDPs are supported for use with Cpipe services in an MC-APS configuration. ICB improves switch times, provides additional protection in case of network failures, and reduces packet loss when an active endpoint is switched from a failed MC-APS node to the protection node. Figure 16 shows an MC-APS group with pseudowire redundancy and ICB protection.

If the active link on the access side fails, MC-APS switchover triggers and subsequently triggers pseudowire redundancy switchover. A failure on the network side triggers pseudowire redundancy switchover but not MC-APS switchover. For detailed information on pseudowire redundancy with ICB protection, refer to 7705 SAR OS Services Guide, VLL Services.
The APS protocol uses the K1 and K2 bytes of the SONET/SDH header to exchange commands and replies between the near end and far end.
The switch priority of a request is assigned by bits 1 through 4 of the K1 byte, as shown in Table 12.
Bits | Condition |
1111 | Lockout of Protection |
1110 | Forced Switch |
1101 | SF - High Priority (not used in 1+1 APS) |
1100 | SF - Low Priority |
1011 | SD - High Priority (not used in 1+1 APS) |
1010 | SD - Low Priority |
1001 | Not used |
1000 | Manual Switch |
0111 | Not used |
0110 | Wait-to-Restore |
0101 | Not used |
0100 | Exercise |
0011 | Not used |
0010 | Reverse Request |
0001 | Do Not Revert |
0000 | No Request |
In unidirectional mode, the K1 and K2 bytes are not used to coordinate switch action; however, the K1 byte is still used to inform the other end of the local action, and bit 5 of the K2 byte is set to 0 to indicate 1+1 APS mode (see Table 13).
In bidirectional mode, the highest-priority local request is compared to the remote request (received from the far-end node using an APS command), and whichever request has the greater priority is selected. The requests can be automatically initiated (such as Signal Failure or Signal Degrade), external (such as Lockout, Forced Switch, Request Switch), or state requests (such as Revert-Time timers).
The channels requesting the switch action are assigned by bits 5 through 8. Only channel number codes 0 and 1 are supported on the 7705 SAR. If channel 0 is selected, the condition bits show the received protection channel status. If channel 1 is selected, the condition bits shows the received working channel status.
The K2 byte is used to indicate bridging actions performed at the line termination equipment (LTE), the provisioned architecture, and mode of operation, as shown in Table 13.
Bits | Function | |
1 to 4 | — | Channel number codes |
5 | 0 | Provisioned for 1+1 mode |
1 | Provisioned for 1:n mode | |
6 to 8 | 111 | Line AIS |
110 | Line RDI | |
101 | Provisioned for bidirectional switching | |
100 | Provisioned for unidirectional switching | |
011 | Reserved for future use | |
010 | Reserved for future use | |
001 | Reserved for future use | |
000 | Reserved for future use |
Table 14 outlines the steps that the bidirectional APS process will go through during a typical automatic switching event. The example is read row by row, from left to right, to provide the complete process of the bidirectional switching event.
Status | APS Commands Sent in K1 and K2 Bytes on Protection Line | Action | ||
B to A | A to B | At Site B | At Site A | |
No failure (protection line is not in use) | “No request” | “No request” | No action | No action |
Working line degraded in direction A to B | “SD” on working channel 1 | “No request” | Failure detected, notify A and switch to protection line | No action |
Site A receives SD failure condition | Same | “Reverse request” | No action | Remote failure detected, acknowledge and switch to protection line |
Site B receives “Reverse request” | Same | Same | No action | No action |
1+1 APS provides revertive and non-revertive modes; non-revertive mode is the default option. In revertive mode, the activity is switched back to the working port after the working line has recovered from a failure (or the manual switch is cleared). In non-revertive mode, a switch to the protection line is maintained even after the working line has recovered from a failure (or the manual switch is cleared).
To prevent frequent automatic switches that result from intermittent failures, a revert-time is defined for revertive switching. The revert-time is configurable from 0 to 60 min in increments of 1 min; the default value is 5 min. In some scenarios, performance issues can occur if the revert-time is set to 0; therefore, it is recommended that the revert-time always be set to a value of 1 or higher. Any change in the revert-time value takes effect upon the next initiation of the wait-to-restore (WTR) timer. The change does not modify the length of a WTR timer that has already been started. The WTR timer of a non-revertive switch can be assumed to be infinite.
If both working and protection lines fail, the line that has less-severe errors will be active. If there is signal degradation on both ports, the active port that failed last will stay active. If there is signal failure on both ports, the working port will always be active because signal failure on the protection line is a higher priority than on the working line.
The lockout protection command (tools>perform>aps>lockout) disables use of the protection line. Since the command has the highest priority, a failed working line using the protection line is switched back to itself even if it is in a fault condition. No switches to the protection line are allowed when the line is locked out. Refer to the 7705 SAR OS OAM and Diagnostics Guide, “Tools”, for information on the APS lockout command.
The request or manual switch of active to protection command (tools>perform>aps> request) switches the active line to use the protection line (by issuing a manual switch request) unless a request of equal or higher priority is already in effect. If the active line is already on the protection line, no action takes place. Refer to the 7705 SAR OS OAM and Diagnostics Guide, “Tools”, for information on the APS request command.
The request or manual switch of active to working command (tools>perform>aps> request) switches the active line back from the protection line to the working line (by issuing a manual switch request) unless a request of equal or higher priority is already in effect. If the active line is already on the working line, no action takes place. Refer to the 7705 SAR OS OAM and Diagnostics Guide, “Tools”, for information on the APS request command.
The forced switch of working to protection command (tools>perform>aps>force) switches the active line to the protection line (by issuing a forced switch request) unless a request of equal or higher priority is already in effect. When the forced switch of working to protection command is in effect, it may be overridden either by a lockout of protection command or by detecting a signal fault on the protection line. If the active line is already on the protection line, no action takes place. Refer to the 7705 SAR OS OAM and Diagnostics Guide, “Tools”, for information on the APS force command.
The forced switch of active to working command (tools>perform>aps>force) switches the active line back from the protection line to the working line (by issuing a forced switch request) unless a request of equal or higher priority is already in effect. Refer to the 7705 SAR OS OAM and Diagnostics Guide, “Tools”, for information on the APS force command.
The exercise command (tools>perform>aps>exercise) is only supported in 1+1 APS bidirectional mode. The Exercise command exercises the protection line by sending an exercise request over the protection line to the far end and expecting a reverse request response back. The switch is not completed during the exercise routine. Refer to the 7705 SAR OS OAM and Diagnostics Guide, “Tools”, for information on the APS exercise command.
This failure indicates that the received K1 byte is either invalid or inconsistent. An invalid code defect occurs if the same K1 value is received for three consecutive frames and is either an unused code or irrelevant for the specific switching operation. An inconsistent code defect occurs when no 3 consecutive received K1 bytes of the last 12 frames are the same.
If the failure persists for 2.5 s, a Protection Switching Byte alarm is raised. When this failure is declared, the protection line is treated as if it were in the SF state. The received signal is then selected from the working line.
When the failure is absent for 10 s, the alarm is cleared and the SF state of the protection line is removed.
This alarm can only be raised by the active port operating in bidirectional mode.
This failure indicates that there is a channel mismatch between the transmitted K1 bytes and the received K2 bytes. A defect is declared when the received K2 channel number differs from the transmitted K1 channel number for more than 50 ms after 3 identical K1 bytes are sent. The monitoring for this condition is continuous, not just when the transmitted value of K1 changes.
If the failure persists for 2.5 s, a Channel Mismatch Failure alarm is raised. When this failure is declared, the protection line is treated as if it were in the SF state. The received signal is then selected from the working line.
When the failure is absent for 10 s, the alarm is cleared and the SF state of the protection line is removed.
This alarm can only be raised by the active port operating in bidirectional mode.
This failure can occur for two reasons. The first reason is that the received K2 byte indicates that 1:N protection switching is being used by the far end of the OC-N line, rather than 1+1 protection switching. The second reason is that the received K2 byte indicates that unidirectional mode is being used by the far end while the near end is using bidirectional mode. This defect is detected within 100 ms of receiving a K2 byte that indicates either of these conditions.
If the failure persists for 2.5 s, a Mode Mismatch Failure alarm is raised. When this failure is declared, if the defect indicates that the far end is configured for unidirectional mode, then the OC-N port reverts from its current bidirectional mode to unidirectional mode. However, the port continues to monitor the received K2 byte, and if the K2 byte indicates that the far end has switched to bidirectional mode, the OC-N port then reverts to bidirectional mode as well. The monitoring stops if the user explicitly reconfigures the local port to operate in unidirectional mode.
When the failure is absent for 10 s, the alarm is cleared, and the configured mode, which is 1+1 bidirectional, is used.
This alarm can only be raised by the active port operating in bidirectional mode.
This failure occurs when a K1 byte is received in three consecutive frames that indicates a signal fail (SF) at the far end of the protection line. This failure forces the received signal to be selected from the working line.
If the failure persists for 2.5 s, a Far-End Protection Line Failure alarm is raised. This alarm can only be raised by the active port operating in bidirectional mode. When the failure is absent for 10 s, the alarm is cleared.
When a CSM or adapter card is installed in a preprovisioned slot, the system tests for discrepancies between the preprovisioned card and card type configurations and the types actually installed. Error messages are displayed if there are inconsistencies, and the card will not initialize. When the proper preprovisioned cards are installed into the appropriate chassis slot, then alarm, status, and performance details will be displayed on the CLI.
A microwave link allows a 7705 SAR-8 or 7705 SAR-18 to be connected to a 9500 MPR-e radio node. The MPR-e is the zero-footprint (outdoor) microwave solution offered by Alcatel-Lucent that allows customers to migrate from TDM microwave to pure packet microwave. The following MPR-e radio variants are supported:
A microwave link is configured on a 7705 SAR-8 or 7705 SAR-18 as a virtual port object (not as a physical port) using the CLI command mw-link-id (for more information on how to configure a microwave link, see “Card, Adapter Card, and Port Command Reference”, “Microwave Link Commands”).
| Note:
Before a microwave link can be configured, the current 7705 SAR OS software package that includes the MPR-e radio software must be downloaded from OLCS to the 7705 SAR-8 or 7705 SAR-18. See MPR-e Radio Software and Upgrade Management for more information. |
The supported microwave link types are 1+0 and 1+1 Hot Standby (HSB). To deploy an N+0 link (with N ≥ 2), multiple links of 1+0 can be configured separately.
A microwave link connection is made from ports 1 through 4 on a Packet Microwave Adapter card to an MPR-e radio using one of the methods described in the 7705 SAR Packet Microwave Adapter Card Installation Guide, “Delivering Data to an MPR-e Radio”. The radio can be configured in standalone mode to provide a basic microwave connection as described in Standalone Mode or in Single Network Element (Single NE) mode to provide the advanced networking capabilities described in Single NE Mode. The default configuration is Single NE mode.
When connected to an MPR-e radio, these ports, with microwave link configured, operate as Gigabit Ethernet ports and provide the same features as the other ports (ports 5 through 8), except for the following:
If a microwave link is not configured on ports 1 through 4, they provide all of the same features as the other Gigabit Ethernet ports (ports 5 through 8).
A microwave link from ports 1 through 4 on a Packet Microwave Adapter card to an MPR-e radio that is configured in standalone mode provides a basic microwave connection to the MPR-e radio. In standalone mode, each MPR-e radio that is connected to a 7705 SAR-8 or 7705 SAR-18 is managed as a separate standalone NE by the MPT Craft Terminal (MCT) Element Manager.
| Note:
In order to support the advanced MWA features, a migration from standalone mode to Single NE mode is needed. See Migration from Standalone Mode to Single NE Mode for the required steps. |
A microwave link from ports 1 through 4 on a Packet Microwave Adapter card to an MPR-e radio that is configured in Single NE mode provides the following networking capabilities to the radio over the microwave link:
MWA allows the 7705 SAR-8 or 7705 SAR-18 and the MPR-e radio(s) to which it is connected to be integrated and managed as a Single NE. The following features are part of Single NE management:
The individual management and IP address of the MPR-e radios are no longer required for network management. When managing a microwave network (consisting of a 7705 SAR-8 or 7705 SAR-18 that is connected to one or more MPR-e radios) using an element/network manager, only the IP address of the 7705 SAR-8 or 7705 SAR-18 needs to be entered. This capability optimizes the microwave network’s IP addressing plan.
For an MPR-e configuration, the required MWA-specific parameters are configured on the 7705 SAR side using the CLI and the required non-MWA parameters are configured on the MPR-e side using the MCT.
The following MWA-specific parameters are configured on the 7705 SAR side:
The following parameters are configured on the MPR-e side:
Configuration done on the MPR-e side is collected in a configuration file; this file can be saved to a 7705 SAR-8 or 7705 SAR-18 using the Commit button function on the MCT or an admin>save CLI command on the 7705 SAR-8 or 7705 SAR-18.
An MPR-e radio generates alarms for fault conditions pertaining to the MPR-e hardware and to the microwave link over which it is connected. The alarms are sent to the 7705 SAR-8 or 7705 SAR-18, which turns the alarm notifications into SNMP traps and log events. These log events are controlled in the same way as all other events on the 7705 SAR-8 and 7705 SAR-18 and can be displayed using the show>log>event-control>mwmgr command. Refer to the 7705 SAR OS System Management Guide, “Event and Accounting Logs”, for more information.
The Single NE capability optimizes the MPR-e radio software installation and upgrade process. The MPR-e radio software is bundled with the 7705 SAR OS software as one package, there is no need to look for and download the MPR-e radio software separately. The 7705 SAR OS software package containing the MPR-e radio software can be downloaded from a directory on OLCS. The operator can copy the software package onto a compact flash or network store on the 7705 SAR-8 or 7705 SAR-18.
| Note:
There are two TiMOS .zip files on OLCS that contain the current 7705 SAR OS software package; the file that contains the MPR-e radio software has the .MWA annotation in the file name. Only the MPR-e radio software that is bundled with this 7705 SAR OS software package is recognized as being valid by the 7705 SAR-8 or 7705 SAR-18. |
An MPR-e radio’s database file is stored and backed up on a 7705 SAR-8 or 7705 SAR-18. If an old MPR-e radio is replaced by a new one, the new MPR-e radio downloads the MPR-e radio software from the 7705 SAR-8 or 7705 SAR-18, along with the backed-up database file of the old MPR-e radio. This means that the MPR-e radio does not need to be reconfigured after a radio hardware replacement.
A separate database file is required for each managed MPR-e radio. The user specifies the filename of the database file to be used during provisioning of the radio on the 7705 SAR-8 or 7705 SAR-18 using the config>port>mw>radio>database CLI command.
The following MPR-e radio system information and microwave link information and statistics can be accessed through a CLI session on the 7705 SAR-8 or 7705 SAR-18:
| Note:
Local/remote Rx power monitoring and local/remote Tx power monitoring are also known as Receive Signal Level (RSL) monitoring and Transmit Signal Level (TSL) monitoring, respectively. |
MPR-e radio reset control is provided on the 7705 SAR-8 or 7705 SAR-18. During an MPR-e radio reset, the microwave link is brought down and an upper layer applications action is triggered, such as message rerouting and clock source switching by the System Synchronization Unit (SSU).
MPR-e radio mute control can be enabled through the CLI/SNMP or by using the MCT. The MCT and CLI are synchronized to show the current state of the MPR-e radio mute function.
| Note:
Administratively disabling the microwave link with which the MPR-e radio is associated (using the config>port>mw-link-id>shutdown command) causes the main and spare MPR-e radios to be muted. |
The microwave link Fast Fault Detection (FFD) capability allows a 7705 SAR-8 or 7705 SAR-18 to directly detect MPR-e radio or microwave link faults using proprietary messaging. The following fault types are detected by FFD:
Note:
|
MWA uses 1+1 HSB to protect against microwave link, MPR-e radio, and Packet Microwave Adapter card failures, as well as frequency channel selective fading. Additionally, hitless (errorless) switching provides zero packet loss if a switchover occurs from a main to a spare MPR-e radio.
The following are required for 1+1 HSB:
| Note:
An MPR-e radio that is connected to an odd-numbered port on the Packet Microwave Adapter card must be configured as the main radio. |
The following protection schemes make up 1+1 HSB:
These protection schemes are enabled using the config>port>mw>protection command; they interwork with each other as described in the sections that follow.
EPS protects against MPR-e radio, MWA Gigabit Ethernet link, and Packet Microwave Adapter card failures. After the radio frames are processed by the active EPS MPR-e radio, the radio sends the Ethernet traffic down to the 7705 SAR-8 or 7705 SAR-18. The standby EPS MPR-e radio does not send any Ethernet traffic down to the 7705 SAR-8 or 7705 SAR-18.
The switching criteria for EPS are:
In a 1+1 HSB configuration, TPS protects against a microwave link transmission failure by ensuring that only one MPR-e radio at a time uses the antenna for signaling. The 7705 SAR-8 or 7705 SAR-18 sends traffic to both the active and standby TPS MPR-e radios. Upon receiving the baseband traffic, both radios modulate it and up-convert it to signals. However, only the active TPS MPR-e radio transmits the RF signals; the standby TPS MPR-e radio suppresses the signals. When the active TPS MPR-e radio fails, standby radio becomes active and restores the microwave link channel.
The switching criteria for TPS are identical to EPS.
Note:
|
RPS is a hitless radio function that provides space diversity protection for the microwave channel. On the receive side, each MPR-e radio monitors the same radio frequency channel, with the main MPR-e radio being the active receiver by default. Both active and standby RPS MPR-e radios receive both streams of radio frames. The standby RPS MPR-e radio sends the stream of radio frames that it receives to the active EPS MPR-e radio.
| Note:
In order to provide space diversity (SD) for the two radio frequency channels, RPS requires that a separate antenna be mounted for each MPR-e radio. |
Figure 17 shows a typical application of 1+1 HSB with SD deployment. Only one microwave frequency channel is active and only the main MPR-e radio is transmitting data to the remote ends; the spare MPR-e radio is acting as a standby.

In a 1+1 HSB configuration, the communication path between the main (active) and spare (standby) MPR-e radios installed on a tower is set up using a tight cable.
| Note:
A tight cable is required with MPT-HC V2, MPT-XP, and MPT-HL V2 radios (1+1 HSB is not supported on MPT-MC radios). |
The following list defines the types of EPS, TPS, and RPS MPR-e radio switching operations that can be enabled using the tools>perform>mw>link command. Refer to the 7705 SAR OS OAM and Diagnostics Guide, “Tools Command Reference”, “Tools Perform Commands”, for more information.
You can also configure revertive switching for RPS and EPS/TPS (when revertive switching is configured for EPS, it is also applied to TPS; revertive switching for TPS cannot be configured separately). Revertive switching occurs when the MPR-e radio operation switches from the spare radio back to the main radio after a fault condition is cleared.
Depending on the type of Gigabit Ethernet microwave link used to connect the Packet Microwave Adapter card and an MPR-e radio, different frequency synchronization mechanisms can be used.
When using optical 1000Base-SX to connect the Packet Microwave Adapter card and an MPR-e radio, synchronous Ethernet and SSM are the frequency synchronization mechanisms that are used. SSM is used as the mechanism to detect a microwave link failure, including loss of frame and MPR-e radio hardware failure.
When using electrical 1000Base-T to connect the Packet Microwave Adapter card and an MPR-e radio, PCR is the frequency synchronization mechanism that is used (a copper SFP is mandatory on ports 3 and 4).
For more information on PCR, synchronous Ethernet, and SSM, refer to the 7705 SAR OS Basic System Configuration Guide, “Node Timing”.
The following steps describe how to perform a remote migration from a standalone mode to a Single NE mode.
| Caution:
Your system must be at MPT Release 4.1 software in order to perform this procedure. Do not perform the migration if you are running MPT Release 5.1 software. |
| Note:
This migration is done on the 7705 SAR-8 or 7705 SAR-18 side using the CLI and on the MPR-e side using the MCT. For information on entering the required CLI commands, see Microwave Link Commands. For the information on entering the required information using the MCT on the MPR-e side, refer to the most current version of the 9500 MPR-A Software Installation Guide (ANSI) or the 9500 MPR-E Release Notice (ETSI). |
The 7705 SAR-M (variants with module slots) supports two DSL modules designed to transport high-volume, best-effort HSDPA traffic or to be used as a pure DSL backhaul option. The 6-port DSL Combination module supports four G.SHDSL.bis pairs and two ADSL2, ADSL2+, or VDSL2 pairs. The 8-port xDSL module supports eight pairs of ADSL2, ADSL2+, or VDSL2.
| Note:
The 7705 SAR-Wx variant that supports Ethernet and xDSL provides 4-pair xDSL PTM bonding (ADSL2+ or VDSL2) on the RJ-45 xDSL port. Refer to the 7705 SAR-Wx Chassis Installation Guide for more information. |
DSL bonding allows multiple physical DSL links to be combined in one logical link to increase bit rate capacity to the subscriber and/or extend the reach of existing services. DSL bonding is activated by the handshake messages between the Central Office and CPE as defined in ITU-T G.994.1. Once the port is configured for bonded mode, any pairs not included in the bonded groups cannot be used to carry traffic.
The 6-port DSL Combination module supports up to two bonding groups, one for SHDSL and one for xDSL. The 8-port xDSL module supports only one bonding group. The DSLAM handshake determines the number of DSL pairs used in each bonding group as shown in Table 15.
Bonding Group | 6-port DSL Combination Module DSL Pairs | 8-port xDSL Module DSL Pairs |
xDSL PTM | 1 to 2 | 1 to 8 |
SHDSL | 2 to 4 | — |
ADSL2/ADSL2+ ATM | 1 to 2 | 1 to 2 |
Bonding functions are driven entirely by the Central Office with the exception of the ATM VPI/VCI when ATM bonding is used on an xDSL interface.
The 7705 SAR-M supports both ATM and PTM bonding as described below.
ATM bonding is specified by ITU-T G.998.1 and is used for ATM-based transmission links for all types of ADSL. ATM bonding adds sequence information to ATM cells, allowing resequencing by adding delay variation to account for speed differences across multiple physical links in one bonding group. ATM bonding is sometimes referred to as multi-ADSL bonding because multiple ADSL lines typically use ATM-based transmission links.
ATM bonding acts as an alternative to IMA as a method of logically combining multiple lines transmitting ATM cells. ATM bonding differs from IMA in the following ways:
The 8-port xDSL module and the xDSL interface of the 6-port DSL Combination module support 2-pair ATM bonding for ADSL2 and ADSL2+. When operating in ATM bonded mode, the remaining 6 pairs on the 8-port xDSL module cannot be used. Additionally, the only protocol stack supported is Ethernet over ATM with RFC 2684 LLC/SNAP bridged ATM packets. In ATM bonded mode, cell scrambling is always enabled and ATM CLP is disregarded (it is not set or inspected for priority loss indications). Any packet priority marking must be done at the Ethernet, MPLS, or IP layers.
In ATM channel-bonding schemes, the end-user packets are split into 53-byte cells. Each cell is tagged with a sequence ID by replacing bits in the ATM header with sequence ID (SID) bits between bonding entities. The ATM bonding implementation on the 7705 SAR-M currently only supports a 12-bit SID, although G.998.1 specifies support for either an 8-bit or 12-bit SID bound by the aggregate rate, differential delay, and number of links.
For ATM bonding, all bridged PDUs are sent without an FCS field. However, if an attached DSLAM does send bridged PDUs with an FCS field attached, the FCS is honored and is not removed or regenerated.
PTM bonding is specified by ITU-T G.998.2 and is supported on VDSL2, ADSL2, and ADSL2+ interfaces on the 6-port DSL Combination module and 8-port xDSL module, and on SHDSL on the 6-port DSL Combination module. PTM bonding uses Ethernet packet-based transmission. PTM bonding and EFM bonding are sometimes used interchangeably, with EFM bonding generally used in conjunction with SHDSL. The SHDSL interface on a 6-port DSL Combination module complies with both PTM specified in ITU-T G.998.2, and EFM specified in IEEE 802.3ah-2004.
PTM bonding applies to DSL links with or without identical transmission speeds. Since PTM implies the use of variable-size PDUs, it makes the use of IMA techniques impossible. PTM bonding combines EFM-based transmission links with limited, or reach-dependent, bandwidth, specifically VDSL2, SHDSL, and ADSL2+ on the 7705 SAR-M. PTM bonding adds sequence information to transmitted frames or frame fragments, allowing resequencing by adding delay variation to account for speed and PDU size differences across multiple physical links in one bonding group.
In PTM channel-bonding schemes, the end-user packets are split into small fragments of up to 512 bytes. The PTM bonding implementation on xDSL ports uses a fixed fragment size of 204 bytes, which is not user-configurable. The PTM fragment size on the SHDSL ports is set to 256 bytes. When PTM bonding is active on a DSL bundle, fragments are distributed over individual DSL lines. At the receiving end, the fragments are realigned to recover from differential delays in the transmission path, then reassembled into packets.
In order to realign correctly, each fragment is prefixed with a header containing a sequence identifier (SID), a start of packet (SOP) indicator, and an end of packet (EOP) indicator. The receiver side uses the SID to rearrange the incoming cells in the correct order, while the SOP and EOP indications are used to reassemble the stream of cells into complete data packets. If transmitted Ethernet packets are smaller than the PTM fragment size, they are transmitted inside a single fragment.
Pairs within a bonded group must start with pair 1 and are then sequentially added into each module. For example, if a 4-pair bonded group is desired on an interface capable of supporting 4 or more pairs, pairs 1 through 4 on the appropriate SAR-M DSL module should be connected to the DSLAM and configured by the DSLAM into the bonded group.
On the ISAM, bonding makes use of either chipset or LT-level (Line Termination Card-level) bonding. For LT-level bonding, the interworking function on the LT board allows non-contiguous ports on the same LT to be bonded. LT-level bonding is used to configure 8-pair bonding on the ISAM, which is also handled by dedicated hardware that incorporates both bonding and xDSL interworking functions. SHDSL bonding functions are provided on the ISAM via chipset level bonding.
Within a bonding group, the line used to identify the whole group is referred to as the primary link. The other lines in the bonding group are referred to as secondary or slave links. The supported bit rate over the bonding group is the sum of the actual net bit rates on all lines in the group.
All DSL module ports are considered the functional equivalent of an Ethernet port and support many of the same features and configuration commands. Data from the central network processor of the SAR-M transmits and receives Ethernet packets to and from the module slot.
If xDSL lines train in ATM bonding mode over ADSL2/2+, the VPI/VCI configured on that port is used by the module to interwork Ethernet packets into AAL5 LLC snap-bridged PDUs without user intervention.
All lines for both the 6-port DSL Combination module and the 8-port xDSL module are configured from the ISAM via the G.994.1 G.hs handshake. All lines operate in auto-detect mode; therefore there are no individual line configurations required with the exception of the configuration of VPI/VCI for ATM bonding and the configuration of ADSL2/2+ Annex B support if ISDN support is required, on an xDSL interface.
DSL modules automatically detect any existing configuration and will attempt to bring pairs into service. For PTM bonding, the underlying transport mechanism is Ethernet. For ADSL2+ ATM bonding, the underlying transport mechanism is ATM, which requires a configured VPI/VCI. The default VPI/VCI on the 7705 SAR-M is 8/35, and only a single VC can be configured.
The only mode of operation for all SHDSL and xDSL pairs on the 7705 SAR-M is bonded mode.
Log files are created to record critical events during xDSL and SHDSL chipset initialization and for any DSL-related operational events. The log file can be viewed through CLI or the 5620 SAM for debugging and troubleshooting. The event data can be directed to the default log file or to a specific user-configured log file.
Table 16 lists the limits for the 6-port DSL Combination module and 8-port xDSL module.
6-port DSL Combination module | 8-port xDSL module | |||
SHDSL | xDSL | |||
Maximum number of bonding groups | 1 | 1 | 1 | |
PTM bonding group size | 2 to 4 pairs | 1 to 2 pairs | 1 to 8 pairs | |
ATM bonding group size | — | 1 to 2 pairs | 1 to 2 pairs | |
MTU | 2048 bytes Only validated to 1594 bytes due to ISAM | 1600 bytes | 1600 bytes | |
Maximum downstream/upstream user data rate | 8-pair bonding | — | — | 350/350 Mb/s (with a trained group rate of 800/400M US/DS) |
4-pair bonding | 21 Mb/s (with a trained data rate of 22.784 Mb/s symmetrically) | 191/100 Mb/s with 2-pair bonding. | 350 MB/s DS rate | |
2-pair bonding | 10 Mb/s (with a trained data rate of 11.392 Mb/s symmetrically) | 191/100 Mb/s (with a trained line rate of 200/103 Mb/s US/DS) | 191/100 Mb/s (with a trained line rate of 200/103 Mb/s US/DS) | |
The 7705 SAR supports custom alarms on Ethernet ports without the need to deploy a dry-contact alarm aggregator. Custom alarms can be created and assigned to any RJ-45 port; the port must be configured for 100 Base-Tx operation with autonegotiation disabled. One alarm input can be configured for each port with the following:
Alarm inputs must be associated with an alarm in order for them to be triggered. Alarm inputs consist of an Ethernet LOS event caused by breaking contact loops between pins 1 and 3 or 2 and 6 on the Ethernet port. Breaking either loop will trigger the port alarm, and reconnecting the loops will clear the alarm.
For information on configuring the alarm inputs, see Configuring Auxiliary Alarm Card, Chassis, and Ethernet Port External Alarm Parameters.
The 7705 SAR supports network access control over client devices on an Ethernet network using the IEEE 802.1x standard. 802.1x is a standard for authenticating Ethernet devices before they can access the network. In the case of the 7705 SAR, authentication is performed using Extensible Authentication Protocol (EAP) over LAN (EAPOL).
802.1x provides protection against unauthorized access by forcing the device connected to the 7705 SAR to go through an authentication phase before it is able to send any non-EAP packets. Only EAPOL frames can be exchanged between the aggregation device (called the authenticator; for example, the 7705 SAR) and the customer device (called the supplicant) until authentication is successfully completed. The 7705 SAR enables the port after successful authentication. While the port is unauthenticated, the port will be “down” to all upper layer protocols or services.
A typical use for EAPOL would involve a 7705 SAR and some type of Ethernet device, such as a laptop, a set-top box, or a Node B. An authentication server would negotiate with the Ethernet device through the 7705 SAR (whose role is authenticator). For example, a technician using a laptop to gain access to his or her network at a cell site would have his or her laptop subject to the 802.1x access control, just as the Node B would. In every case, the Ethernet device connected to the 7705 SAR must negotiate for network access. Essentially, with EAPOL in use, any Ethernet device that connects to the 7705 SAR must negotiate for permission to send traffic through the 7705 SAR Ethernet port.
The 7705 SAR supports the following EAP methods: MD5, TLS, TTLS, and PEAPv0.
This section describes the following:
The IEEE 802.1x standard defines three participants in an authentication conversation (see Figure 18):

The authentication exchange is carried out between the supplicant and the authentication server; the authenticator acts only as a bridge. The communication between the supplicant and the authenticator is done using EAPOL. The communication between the authenticator and the authentication server is done using the RADIUS protocol. The authenticator is therefore a RADIUS client, and the authentication server is a RADIUS server.
Figure 19 shows an example of the messages transmitted during an authenticator-initiated One Time Password (OTP) authentication process.
| Note:
OTP is one of many authentication mechanisms that are available for use between the supplicant and the authentication server. These authentication mechanisms (protocols) are transparent to the 7705 SAR. |
The authenticator initiates the procedure when the Ethernet port becomes operationally up, by sending a special PDU called an EAP-Request/ID to the supplicant. The supplicant can also initiate the exchange by sending an EAPOL-start PDU, if it doesn't receive the EAP-Request/ID frame during bootup. The supplicant responds to the EAP-Request/ID with an EAP-Response/ID frame containing its identity (typically username + password).
After receiving the EAP-Response/ID frame, the authenticator encapsulates the identity information into a RADIUS AccessRequest packet, and sends it off to the configured RADIUS server.
The RADIUS server checks the supplied credentials using an authentication algorithm to verify the supplicant’s identity. If approved, the RADIUS server returns an Access Accept message to the authenticator. The authenticator notifies the supplicant with an EAP-Success message and puts the port in the authorized state.
If the supplicant sends and EAP-logoff message, the authenticator puts the supplicant in an unauthorized state. After waiting a number of seconds defined by the quiet-period timer, the authenticator continues searching for supplicants to authenticate.
The 7705 SAR conforms to the relevant sections of the 802.1X-2001 implementation.

The 7705 SAR supports port-based network access control for Ethernet ports only. Each Ethernet port can be configured to operate in one of three different modes, controlled by the port-control command:
The 802.1x authentication process is controlled by a number of configurable timers. There are two separate sets, one for the EAPOL message exchange and one for the RADIUS message exchange. Figure 20 shows an example of the timers.
EAPOL timers:
RADIUS timers:

The authenticator can also be configured to periodically trigger the authentication process automatically. This is controlled by the enable reauthentication and reauthentication period parameters. Re-auth-period indicates the time in seconds (since the last time that the authorization state was confirmed) before a new authentication process is started. The range of re-auth-period is 1 to 9000 s (the default is 3600 s). The port stays in an authorized state during the reauthentication process.
Configuration of 802.1x network access control on the authenticator consists of two parts:
802.1x provides access to the port for any device, even if only a single client has been authenticated. Additionally, it can only be used to gain access to a predefined Service Access Point (SAP). It is not possible to dynamically select a service (such as a VPLS service) depending on the 802.1x authentication information.
The IEEE 802.1ab Link Layer Discovery Protocol (LLDP) allows stations that are attached to the same IEEE 802 LAN (emulation) to advertise information for the purpose of populating physical or logical topology and device discovery management information databases. In other words, IEEE 802.1ab Link Layer Discovery Protocol allows an LLDP agent to learn connectivity and management information from adjacent stations. The information obtained via this protocol is stored in standard MIBs which can be accessed via management protocols such as SNMP.
LAN emulation and logical topology is applicable to customer bridge scenarios (enterprise or carrier of carrier) connected to a provider network offering a transparent LAN emulation service to their customers. LAN emulation helps customers detect intermediate provider misconnections by offering a view of the customer topology where the provider service is represented as a LAN interconnecting customer bridges.
The IEEE 802.1ab standard defines a protocol that:

Network operators must be able to discover the topology information in order to detect and address network problems and inconsistencies in the configuration. Standards-based tools can address complex network scenarios where multiple devices from different vendors are interconnected using Ethernet interfaces.
On the 7705 SAR, each Ethernet port can be configured to run up to three LLDP sessions. Each session can have up to five peers and each peer can store up to three management addresses.The 7705 SAR can have a maximum of 720 peers configured.
Figure 22 shows the three scopes of LLDP that are supported on the 7705 SAR. The scopes are Nearest Bridge, Nearest non-TPMR Bridge, and Nearest Customer Bridge.

LLDP allows stations attached to an IEEE 802 LAN to advertise to other stations attached to the same LAN, the major capabilities provided by the system incorporating that station, the management address or addresses of the entity or entities that manage these capabilities, and the identification of the station's point of attachment to the LAN required by the management entity or entities.
The information distributed via this protocol is stored on the receiving device in a standard MIB, so that the information can be accessed by a Network Management System (NMS).
The LLDP protocol uses an LLDP agent entity that implements LLDP for a particular MAC service access point (MSAP) associated with a port.
LLDP does not contain a mechanism for soliciting specific information from other LLDP agents, nor does it provide a specific means of confirming the receipt of information. LLDP allows the transmitter and the receiver to be enabled separately; therefore, the local LLDP agent can be configured to transmit only, receive only, or both transmit and receive LLDP information.
LLDP agents transmit and receive LLDP Data Units (LLDPDUs). The LLDPDU contains an LLDP frame whose information fields are a sequence of variable-length information elements. Each element includes type, length, and value fields (known as TLVs).
Each LLDPDU contains four mandatory TLVs and can contain optional TLVs as selected by network management. Figure 23 shows the LLDPDU format.

The chassis ID TLV identifies the chassis containing the Ethernet port responsible for transmitting the LLDPDU. The port ID TLV identifies the Ethernet port responsible for transmitting the LLDPDU. The chassis ID and the port ID values are concatenated to form a logical identifier (the MSAP identifier) that is used by the recipient to identify the sending LLDP agent and associated port. Both the chassis ID and port ID values can be defined in a number of ways. Once selected, however, the chassis ID and port ID value combination remains the same as long as the particular port remains operable.
The Time To Live TLV indicates the number of seconds (from 0 to 65535) that the receiving LLDP agent should consider the information contained in the received LLDPDU to be valid. The Time To Live TLV is calculated by the formula tx-interval × tx-hold-multiplier. The associated information is automatically discarded by the receiving LLDP agent if the sender fails to update it before this time. A zero value indicates that any information pertaining to this LLDPDU identifier is to be discarded immediately. A TTL value of zero can be used, for example, to signal that the sending port has initiated a port shutdown procedure.
The End of LLDPDU TLV marks the end of the LLDPDU.
SCADA systems are used in many strategic industry networks, such as utility and transportation, to monitor and maintain the networks from remote monitoring locations. SCADA systems use a master/slave architecture with a single master that supports multiple slave remote terminal units (RTUs).
Alcatel-Lucent addresses the needs of SCADA customers with the Integrated Services card. The Integrated Services card is a resource card that is capable of supporting software applications that specifically meet the requirements of TDM-based SCADA systems. The card is supported on the 7705 SAR-8 and the 7705 SAR-18.
| Note:
In Release 6.1, only the multidrop data bridge (MDDB) application is supported on the Integrated Services card. |
The MDDB application provides a centralized digital bridging functionality that allows a SCADA bridge to be configured between a master and remote slaves. The bridge allows a single data message stream to be broadcast from a master to multiple slaves and allows a single slave to communicate back to the master.
| Note:
SCADA systems may use redundant masters, where both masters listen to all traffic that is being transmitted from the slaves but only the active master broadcasts data to the slaves. |
In a SCADA MDDB network, the masters and slaves are connected to a SCADA bridge using RS-232 links. The masters are typically located on remote servers that are physically connected to a 7705 SAR-8 or 7705 SAR-18 using the 12-port Serial Data Interface card. The slaves are at a remote location connected to a 7705 SAR-8, 7705 SAR-18, 7705 SAR-H, or 7705 SAR-Hc node. On a 7705 SAR-8 or 7705 SAR-18, the physical connection is made using the 12-port Serial Data Interface card. On the 7705 SAR-H, the 4-port T1/E1 and RS-232 Combination module is used; on the7705 SAR-Hc an on-board RS-232 serial port is used. The remote nodes are connected to the SCADA bridge over an IP/MPLS network.
An Integrated Services card supports up to 16 SCADA bridges. Each bridge supports 32 branches. Two branches (branch 1 and branch 2) are dedicated connections to the SCADA masters; the other 30 branches connect to the slaves. An MDDB SCADA bridge is created using the config>scada bridge-id command and a branch is created using the config>scada>branch branch-id command. In case of a SCADA master failure, the second master branch can be activated by forcing a switchover using the config>scada>mddb>force-active master branch-id command.
| Note:
Larger bridges can be built by cascading individual bridges within a single Integrated Services card and using the master output from one bridge as the master input to another bridge. The connection between the bridges is made using an RS-232 link. |
In a SCADA MDDB network, the masters and slaves are connected to a SCADA bridge using RS-232 links. The masters are typically located on remote servers that are physically connected to a 7705 SAR-8 or 7705 SAR-18 using the 12-port Serial Data Interface card. The slaves are at a remote location connected to a 7705 SAR-8, 7705 SAR-18, 7705 SAR-H, or 7705 SAR-Hc node. On a 7705 SAR-8 or 7705 SAR-18, the physical connection is made using the 12-port Serial Data Interface card. On the 7705 SAR-H, the 4-port T1/E1 and RS-232 Combination module is used; on the 7705 SAR-Hc, an on-board RS-232 serial port is used. The remote nodes are connected to the SCADA bridge over an IP/MPLS network.
A Cpipe SAP is configured for each master and slave branch in order to transmit data to the bridge. The RS-232 traffic is converted to a 64 kb/s Cpipe using high capacity multiplexing (HCM). The Integrated Services card terminates the Cpipe (the slaves send data back over the IP/MPLS network), recovers the data from the HCM frame, and sends the data to the bridge. Figure 24 shows a typical SCADA MDDB network.

| Note:
A condition may occur where a single slave continues to send data to the master after the normal response period has expired. This condition locks up the bridge so that no other slave can transmit data back to the master. To resolve this condition, the squelch command can be enabled on a bridge (it is disabled by default) by configuring a timeout period (using the config>scada>mddb>squelch>timeout command) that, once expired, raises an alarm and triggers the squelching function. Squelching blocks the errant slave so that other slaves can continue to use the bridge. The squelch reset command is used to put the bridge back into a normal state. |
The following information describes provisioning caveats.
For information on supported IETF drafts and standards as well as standard and proprietary MIBs, refer to Standards and Protocol Support.