Route Policy Configuration Overview
Route policies allow you to configure routing according to specifically defined policies. You can create policies and entries to allow or deny paths based on parameters such as source address, destination address, protocol, and community list.
Policies can be as simple or complex as required. A simple policy can block routes for a specific location or IP address. More complex policies can be configured using numerous policy statement entries containing matching conditions to specify whether to accept or reject the route, control how a series of policies are evaluated, and manipulate the characteristics associated with a route.
When to Create Routing Policies
Route policies are created in the config>router context. There are no default route policies. Each route policy must be explicitly created and applied. Applying route policies can introduce more efficiency as well as more complexity to the capabilities of the 7705 SAR.
Route policies are used to configure which MPLS labels should be learned or advertised. Based on the configured routing policy, MPLS labels from certain neighbors can be discarded.
Route policies are also used to control the size and content of the BGP, OSPF, and IS-IS routing tables, the routes that are advertised, and the best route to take to reach a destination.
Route policies can be created to control:
a protocol to export all the active routes learned by that protocol
route characteristics to control which route is selected to act as the active route to reach a destination and advertise the route to neighbors
the protocol to import all routes into the routing table. A routing table must learn about particular routes to be able to forward packets and redistribute to other routing protocols.
damping
Before a route policy is applied, analyze the policy’s purpose and be aware of the results (and consequences) when packets match the specified criteria and the associated actions and default actions, if specified, are executed. Membership reports can be filtered based on a specific source address.
Default Route Policy Actions
Routing protocols have default behaviors for the import and export of routing information.
For BGP, OSPF, and IS-IS, the default route policy actions are as follows:
BGP
import – all routes from BGP peers are accepted and passed to the BGP route selection process
export (internal routes) – all active BGP routes are advertised to BGP peers
export (external routes) – all non-BGP learned routes are not advertised to BGP peers
OSPF and IS-IS
import – not applicable; all OSPF or IS-IS routes are accepted from OSPF or
IS-IS neighbors and cannot be controlled by route policies
export (internal routes) – all OSPF or IS-IS routes are automatically advertised to all neighbors
export (external routes) – all non-OSPF or non-IS-IS learned routes are not advertised to OSPF or IS-IS neighbors
Policy Evaluation
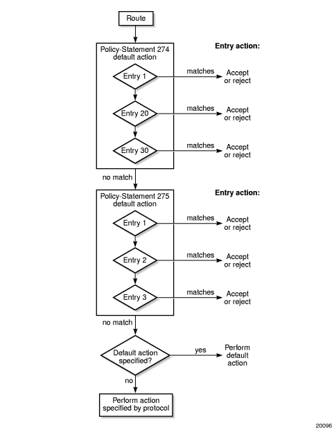
Routing policy statements can consist of one or several entries. The entries specify the matching criteria. A label is compared to the first entry in the policy statement. If it matches, the specified entry action is taken, either accepted or rejected. If the action is to accept or reject the label, that action is taken and the evaluation of the label ends.
If the label does not match the first entry, the label is compared to the next entry (if more than one is configured) in the policy statement. If there is a match with the second entry, the specified action is taken. If the action is to accept or reject the label, that action is taken and the evaluation of the label ends, and so on.
Each route policy statement can have a default-action clause defined. If a default action is defined for one or more of the configured route policies, the default action should be handled in the following ways.
The process stops when the first complete match is found and executes the action defined in the entry.
If the packet does not match any of the entries, the system executes the default action specified in the policy statement.
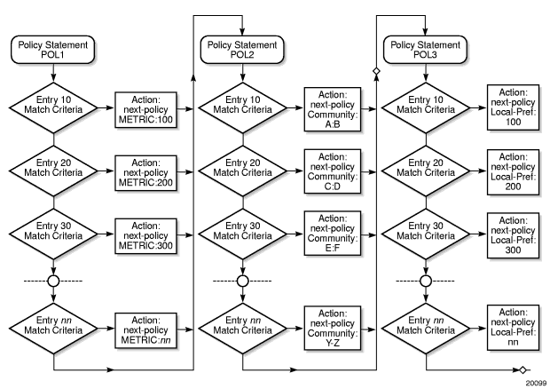
Route policies can also match a given route policy entry and continue to search for other entries within either the same route policy or the next route policy by specifying the
next-entry or next-policy option in the entry’s action command. Policies can be constructed to support multiple states to the evaluation and setting of various route attributes.
Figure 15 shows an example of the route policy process.
Figure 16 and Figure 17 show the next-policy and next-entry route policy processes.
Figure 15:
Route Policy Process Example

Figure 16:
Next Policy Logic Example

Figure 17:
Next Entry Logic Example

Damping
Damping initiates controls when routes flap. Route flapping can occur when an advertised route between nodes alternates (flaps) back and forth between two paths due to network problems that cause intermittent route failures. To limit processing requirements, the amount of routing state change updates propagated must be reduced. Thus, when a route flaps beyond a configured value (the suppress value), then that route is removed from the routing table and routing protocols until the value falls below the reuse value.
A route can be suppressed according to the Figure of Merit (FoM) value. The FoM is a value that is added to a route each time it flaps. A new route begins with an FoM value of 0.
Damping is optional. If damping is configured, the following parameter values must be explicitly specified because there are no default values:
suppress
half-life
reuse
max-suppress
When a route’s FoM value exceeds the suppress value, the route is removed from the routing table. The route is considered to be stable when the FoM drops below the reuse value by means of the specified half-life parameter. The route is then returned to the routing tables. When routes have higher FoM and half-life values, they are suppressed for longer periods of time. Figure 18 depicts an example of a flapping route, the suppress threshold, the half-life decay (time), and reuse threshold. The peaks represent route flaps, and the slopes represent half-life decay.
Figure 18:
Damping Example

Basic Route Policy Configuration
This section provides information on configuring route policies and shows configuration examples of common tasks.
The minimal route policy parameters that need to be configured are:
policy statement with the following parameters specified:
at least one entry
entry action
The following is an example of route policy configuration, including samples for defining community members and the as-path regular expressions.
A:ALU-B>config>router>policy-options# info
----------------------------------------------
community "all-types" members "5000:[1-6][1-9][0-9]"
community "all-normal" members "5000:[1-5][1-9][0-9]"
. . .
as-path "Outside madeup paths" ".* 5001 .*"
as-path "Outside Internet paths" ".* 5002 .*"
policy-statement "RejectOutsideASPaths"
entry 1
from
protocol bgp
as-path "Outside madeup paths"
exit
action reject
exit
exit
entry 2
from
protocol bgp
as-path "Outside Internet paths"
exit
action reject
exit
exit
entry 3
from
protocol ospf
exit
to
protocol bgp
exit
action reject
exit
exit
entry 4
from
protocol isis
exit
to
protocol bgp
exit
action reject
exit
exit
default-action accept
exit
exit
policy-statement "aggregate-customer-peer-only"
entry 1
from
community "all-customer-announce"
exit
action accept
exit
exit
default-action reject
exit
exit
----------------------------------------------
A:ALU-B>config>router>policy-options#
Configuring Route Policy Components
Use the CLI syntax displayed below to configure the following:
config>router>policy-options
begin
commit
abort
prefix-list name
prefix ip-prefix/mask [exact | longer | through length | prefix-length-range length1-length2]
policy-statement name
description text
default-action {accept | next-entry | next-policy | reject}
entry entry-id
description text
action {accept | next-entry |next-policy | reject}
from
neighbor {ip_address | prefix-list name}
prefix-list name [name...up to 5 max]
Beginning the Policy Statement
Use the following CLI syntax to begin a policy statement configuration. In order for a policy statement to be complete, an entry must be specified (see Configuring an Entry).
config>router>policy-options
begin
policy-statement name
description text
The following error message displays if you try to enter a policy options command without entering begin first.
A:ALU-B>config>router>policy-options# policy-statement “allow all”
MINOR: CLI The policy-options must be in edit mode by calling begin before any
changes can be made.
The following example displays policy statement configuration command usage. These commands are configured in the config>router context.
config>router# policy-options
policy-options# begin
There are no default policy statement options. All parameters must be explicitly configured.
Creating a Route Policy
To enter the mode to create or edit route policies, you must enter the begin keyword at the config>router>policy-options prompt. Other editing commands include:
the commit command, which saves changes made to route policies during a session
the abort command, which discards changes that have been made to route policies during a session
Use the following CLI syntax to enter the edit mode:
config>router>policy-options
begin
The following example displays some commands to configure a policy statement. Policy option commands are configured in the config>router context. Use the commit command to save the changes.
config>router>policy-options# begin
policy-options# policy-statement "allow all"
policy-options>policy-statement$ description "General Policy"
policy-options>policy-statement>default# entry 1
policy-options>policy-statement>entry$ action accept
policy-options>policy-statement>entry# exit
policy-options>policy-statement# exit
policy-options# commit
The following error message displays if you try to modify a policy option without entering begin first.
A:ALU-B>config>router>policy-options# policy-statement “allow all”
MINOR: CLI The policy-options must be in edit mode by calling begin before any
changes can be made.
A:ALU-B>config>router>policy-options# info
#------------------------------------------
# Policy
#------------------------------------------
policy-options
begin
policy-statement "allow all"
description "General Policy"
...
exit
exit
----------------------------------------------
A:ALU-B>config>router>policy-options#
Configuring a Default Action
Specifying a default action is optional. The default action controls those packets not matching any policy statement entries. The default action is applied only to those routes that do not match any policy entries.
If no default action is specified and there is no match, the packets will be accepted.
A policy statement must include at least one entry (see Configuring an Entry).
To enter the mode to create or edit route policies, you must enter the begin keyword at the config>router>policy-options prompt. Other editing commands include:
the commit command, which saves changes made to route policies during a session
the abort command, which discards changes made to route policies during a session
config>router>policy-options
begin
commit
abort
policy-statement name
default-action {accept |next-entry |
next-policy | reject}
as-path {add | replace} name
community {add | remove | replace} name
damping name
metric {add | subtract | set} metric
metric set [igp | metric]
preference preference
tag hex-string
type type
The following example displays default action configuration command usage. These commands are configured in the config>router>policy-options context.
config>router>policy-options# policy-statement "1"
policy-statement$ default-action accept
The following example displays the default action configuration:
A:ALU-B>config>router>policy-options# info
----------------------------------------------
policy-statement "1"
default-action accept
as-path add "saratoga"
community add "365"
damping "flaptest"
metric igp
next-hop 10.10.10.104
exit
type 1
exit
----------------------------------------------
A:ALU-B>config>router>policy-options#
Configuring an Entry
An entry action must be specified. The other parameters in the entry>action context are optional.
config>router>policy-options
begin
commit
abort
policy-statement name
entry entry-id
description text
action {accept | next-entry | next-policy | reject}
from
area area-id
as-path {add | replace} name
community name members comm-id
external
family [ipv4] [vpn-ipv4]
group-address prefix-list-name
interface interface-name
level {1 | 2}
neighbor {ip-address | prefix-list name}
origin {igp | egp | incomplete | any}
prefix-list name [name...(up to 5 max)]
protocol protocol [all | instance instance]
source-address ip-address
tag tag
type type
to
level {1 | 2}
neighbor {ip-address | prefix-list name}
prefix-list name [name...(up to 5 max)]
protocol protocol [all | instance instance]
The following example displays entry command usage. These commands are configured in the config>router>policy-options context.
config>router>policy-options# policy-statement "1"
policy-statement# entry 1
policy-statement>entry$ to
policy-statement>entry>to# protocol bgp
policy-statement>entry>to# neighbor 10.10.10.104
policy-statement>entry>to# exit
policy-statement>entry# action accept
policy-statement>entry>action# exit
policy-statement>entry# exit
policy-statement# entry 2
policy-statement>entry$ from
policy-statement>entry>from# protocol ospf
policy-statement>entry>from# exit
policy-statement>entry$ to
policy-statement>entry>to# protocol ospf
policy-statement>entry>to# neighbor 10.10.0.91
policy-statement>entry>to# exit
policy-statement>entry# action accept
policy-statement>entry>action# exit
The following example displays entry parameters and includes the default action parameters that were displayed in the previous section.
A:ALU-B>config>router>policy-options# info
----------------------------------------------
policy-statement "1"
entry 1
to
protocol bgp
neighbor 10.10.10.104
exit
action accept
exit
exit
entry 2
from
protocol ospf
exit
to
protocol ospf
neighbor 10.10.0.91
exit
action accept
exit
exit
default-action accept
. . .
exit
exit
----------------------------------------------
Configuring an AS Path (policy-option)
An AS path is defined by a regular expression in the config>router>policy-options context. Once defined, it can be added, removed, or replaced in a policy statement as part of a default action, an entry action, or an entry from (source) definition. See Configuring a Default Action and Configuring an Entry.
The following example displays as-path command usage.
A:ALU-B>config>router># info
----------------------------------------------
. . .
as-path "Outside madeup paths" ".* 5001 .*"
as-path "Outside Internet paths" ".* 5002 .*"
. . .
----------------------------------------------
A:ALU-B>config>router>#
Configuring a Community List
Community lists are composed of a group of destinations that share a common property. Community lists allow you to administer actions on a configured group instead of having to execute identical commands for each member.
The following example displays a community list configuration:
A:ALU-B>config>router>policy-options# info
----------------------------------------------
community "eastern" members "100:200"
community "western" members "100:300"
community "northern" members "100:400"
community "southern" members "100:500"
community "headquarters" members "100:1000"
policy-statement "1"
entry 1
to
protocol bgp
neighbor 10.10.10.104
exit
action accept
Configuring Damping
Observe the following when configuring damping.
For each damping profile, all parameters must be configured.
The suppress value must be greater than the reuse value (see
Figure 18).
Damping is enabled in the config>router>bgp context at the BGP global, group, and neighbor levels. If damping is enabled but route policy does not specify a damping profile, the default damping profile is used. This default profile is always present and consists of the following parameters:
half-life: 15 min
max-suppress: 60 min
reuse: 750
suppress: 3000
Use the following CLI syntax to configure damping:
config>router>policy-options
damping name
half-life minutes
max-suppress minutes
reuse integer
suppress integer
The following example displays damping configuration command usage.
config>router>policy-options#
config.router>policy-options#damping damptest123
config.router>policy-options#damping# max-suppress 60
config.router>policy-options#damping# half-life 15
config.router>policy-options#damping# re-use 750
config.router>policy-options#damping# suppress 1000
config.router>policy-options#damping# exit
config.router>policy-options#
The following example displays a damping configuration:
A:ALU-B>config>router>policy-options# info
----------------------------------------------
damping "damptest123"
half-life 15
max-suppress 60
reuse 750
suppress 1000
exit
----------------------------------------------
A:ALU-B>config>router>policy-options#
Configuring a Prefix List
Use the following CLI syntax to configure a prefix list:
prefix-list name
prefix ip-prefix/prefix-length [exact |longer | through length | prefix-length-range length1-length2]
The following example displays prefix list configuration command usage. These commands are configured in the config>router context.
config>router>policy-options# prefix-list
policy-options# prefix-list western
policy-options>prefix-list# prefix 10.10.0.1/32
policy-options>prefix-list# prefix 10.10.0.2/32
policy-options>prefix-list# prefix 10.10.0.3/32
policy-options>prefix-list# prefix 10.10.0.4/32
The following example displays the prefix list configuration.
A:ALU-B>config>router>policy-options# info
----------------------------------------------
prefix-list "western"
prefix 10.10.0.1/32 exact
prefix 10.10.0.2/32 exact
prefix 10.10.0.3/32 exact
prefix 10.10.0.4/32 exact
exit
----------------------------------------------
A:ALU-B>config>router>policy-options>#
Configuring PIM Join Policies
Join policies are used in Protocol Independent Multicast (PIM) configurations to prevent the transport of multicast traffic across a network and the dropping of packets at a router at the edge of the network. PIM Join filters reduce the potential for denial of service (DoS) attacks and PIM state explosion—large numbers of Join messages forwarded to each router on the RPT, resulting in memory consumption. For information on importing a Join policy into a PIM configuration, see the “Importing PIM Join Policies” section in the 7705 SAR OS Routing Protocols Guide.
Configuring a PIM join policy follows the same process as that for any other policy. However, when configuring an entry, include the entry>from>group-address and entry>from>source-address commands. See Configuring an Entry for the CLI syntax.
The following example displays the command usage for a PIM join policy named “pim_join”. The policy will not allow Join messages for group 229.50.50.208/32 and source 192.168.0.0/16, but will allow other Join messages. These commands are configured in the config>router context. Note that config>router is not shown in the example below.
policy-options# begin
policy-options# policy-statement pim_join
policy-options>policy-statement$ entry 10
policy-options>policy-statement>entry$ from
policy-options>policy-statement>entry>from$ group-address 229.50.50.208/32
policy-options>policy-statement>entry>from$ source-address 192.168.0.0
policy-options>policy-statement>entry>from$ exit
policy-options>policy-statement>entry# action reject
policy-options>policy-statement>entry#
The following example displays the PIM join policy configuration:
A:ALA-B>config>router>policy-options# info
----------------------------------------------
...
policy-statement "pim_join"
entry 10
from
group-address "229.50.50.208/32"
source-address 192.168.0.0
exit
action reject
exit
exit
...
----------------------------------------------
Configuring Bootstrap Message Import and Export Policies
Bootstrap import and export policies are used to control the flow of bootstrap messages to and from the rendezvous point (RP).
The following configuration example specifies that there should be no BSR messages received or sent out of interface port 1/1/1. These commands are configured in the config>router context.
policy-options# policy-statement pim_import_policy
policy-options>policy-statement$ entry 10
policy-options>policy-statement>entry$ from
policy-options>policy-statement>entry>from$ interface port 1/1/1
policy-options>policy-statement>entry>from$ exit
policy-options>policy-statement>entry# action reject
policy-options>policy-statement>entry# exit
policy-options>policy-statement# exit
policy-options# policy-statement pim_export_policy
policy-options>policy-statement$ entry 10
policy-options>policy-statement>entry$ to
policy-options>policy-statement>entry>to$ interface port 1/1/1
policy-options>policy-statement>entry# action reject
policy-options>policy-statement>entry# exit
policy-options>policy-statement# exit
The following configuration example illustrates the application of the policies to PIM. Up to five import and five export policies can be specified.
configure>router>pim>rp# bootstrap-import pim_import_policy
configure>router>pim>rp# bootstrap-export pim_export_policy
Route Policy Configuration Management Tasks
This section describes the following route policy configuration management tasks:
Editing Policy Statements and Parameters
Route policy statements can be edited to modify, add, or delete parameters. To enter edit mode, you must enter the begin keyword at the config>router>policy-options prompt. Other editing commands include:
the commit command, which saves changes made to route policies during a session
the abort command, which discards changes that have been made to route policies during a session
The following example displays some commands to configure a policy statement. These commands are configured in the config>router>policy-options context.
config>router>policy-options# begin
policy-options# policy-statement "1"
policy-statement# description "Level 1"
policy-statement# entry 4
policy-statement>entry$ description “new entry”
policy-statement>entry# from
policy-statement>entry>from$ prefix-list “from hq”
policy-statement>entry>from# exit
policy-statement>entry# action reject
policy-statement>entry# commit
policy-statement>entry# exit
The following example displays the changed configuration.
A:ALU-B>config>router>policy-options>policy-statement# info
----------------------------------------------
description "Level 1"
entry 1
from
neighbor 10.10.10.104
exit
action accept
exit
exit
entry 2
from
prefix-list list1
exit
from
neighbor 10.10.0.91
exit
action accept
exit
exit
entry 4
description "new entry"
from
prefix-list “from hq”
exit
action reject
exit
default-action accept
exit
----------------------------------------------
A:ALU-B>config>router>policy-options>policy-statement#
Deleting an Entry
Use the following CLI syntax to delete a policy statement entry:
config>router>policy-options
begin
commit
abort
policy-statement name
no entry entry-id
The following example displays the commands required to delete a policy statement entry.
config>router>policy-options# begin
policy-options# policy-statement "1"
policy-options>policy-statement# no entry 4
policy-options>policy-statement# commit
Deleting a Policy Statement
Use the following CLI syntax to delete a policy statement:
config>router>policy-options
begin
commit
abort
no policy-statement name
The following example displays the commands required to delete a policy statement.
config>router>policy-options# begin
policy-options# no policy-statement 1
policy-options# commit